EasyManua.ls Logo

Yanmar CANplus 600 - Typical J1939 Wiring Topology

Yanmar CANplus 600
40 pages
Print Icon
To Next Page IconTo Next Page
To Next Page IconTo Next Page
To Previous Page IconTo Previous Page
To Previous Page IconTo Previous Page
Loading...
Yanmar
®
600 Control Panel Operation and Troubleshooting
463-3000-09 Initial - 16-May-2008 21
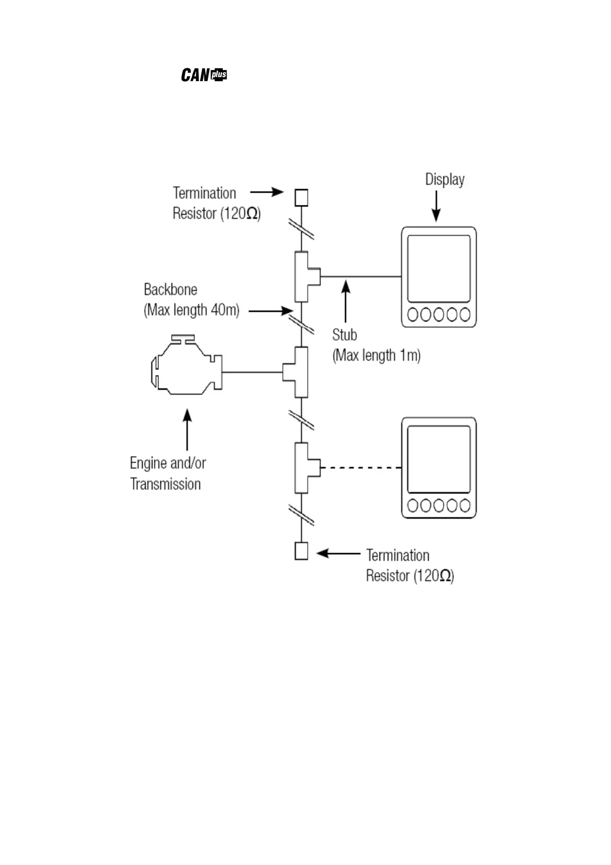
Typical J1939 Wiring Topology
Most electronically governed engine installations include a harness with built in J1939 backbone. Use
twisted shielded pair with a drain wire for CANbus wiring terminated with 120 resistors at each end. The
maximum length for the bus is 131 feet (40 m) and stubs should not exceed 39 inches (1m) in length.