EasyManua.ls Logo

Zeiss Axio Imager.A2 - Installing the Focus Linear Sensor

Zeiss Axio Imager.A2
194 pages
Print Icon
To Next Page IconTo Next Page
To Next Page IconTo Next Page
To Previous Page IconTo Previous Page
To Previous Page IconTo Previous Page
Loading...
START-UP
Axio Imager Installing the focus linear sensor Carl Zeiss
M70-2-0020 e 06/2009 430000-7344-001 51
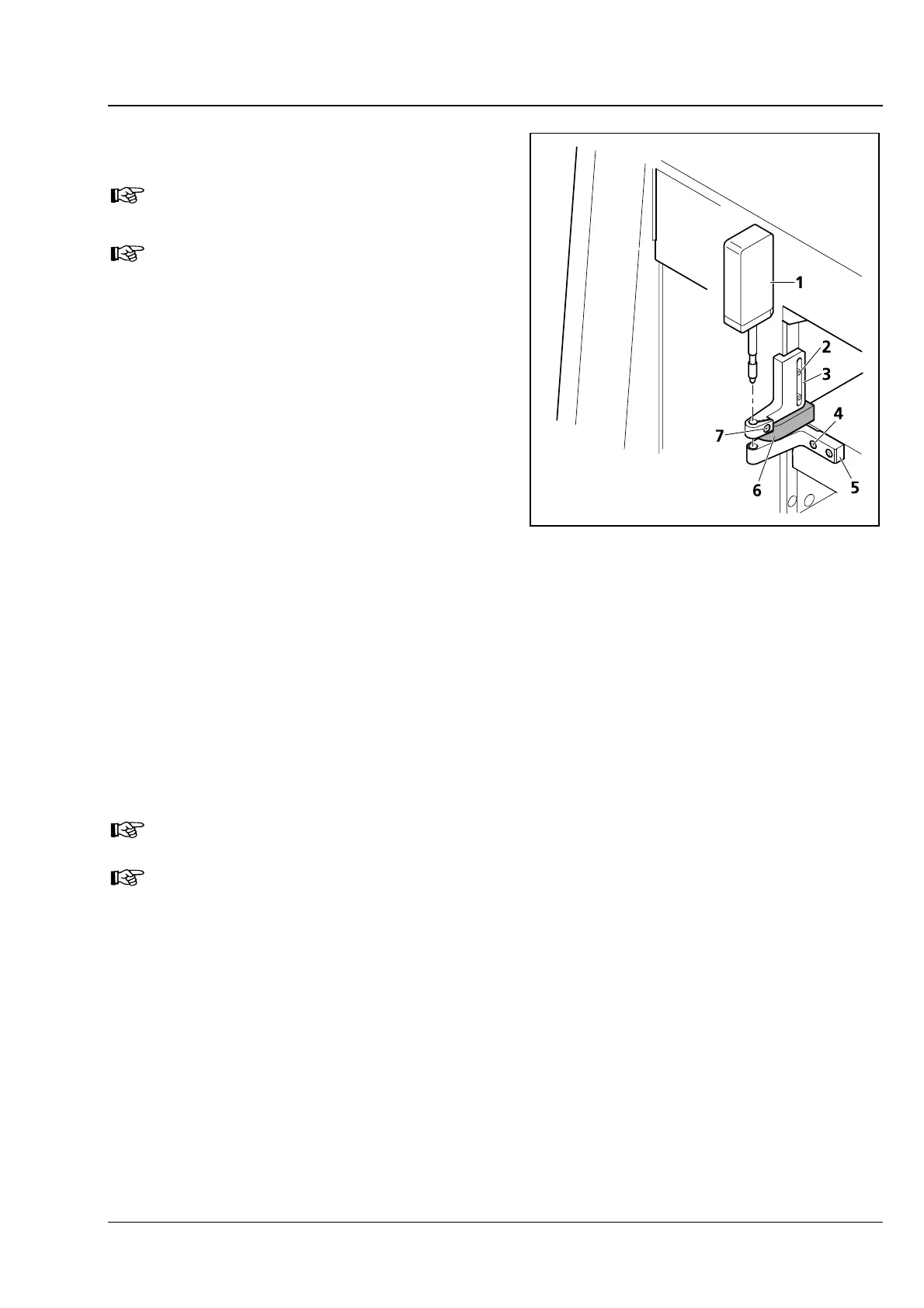
3.25 Installing the focus linear sensor
Only in connection with Axio Imager.Z2 /
.Z2m stands.
Use adjusting block 430702-0102-000
for installation.
Switch on the microscope (see Section 4.3.1.1).
Screw objective which is in optical path out of
nosepiece.
Move the mechanical stage with stage carrier to
the higher stop position.
Put the adjusting block (3-31/6) against the
stage carrier and fix the top part of holder Z
(
3-31/3) on it.
Bring the top part of holder Z (3-31/3) into line
with the adjusting block and fasten it with both
screws (
3-31/2) to the stand.
Press the bottom part of holder Z (3-31/5)
against the adjusting block, so that stage carrier
and bottom part of holder Z are flush.
Fasten bottom part of holder Z (3-31/5) with both screws (3-31/4) to the stage carrier.
Insert the focus linear sensor (3-31/1) in the top part, bring it into line with the lower edge and fasten
it by means of clamping screw (
3-31/7).
Move the stage carrier to the lower stop position and remove adjusting block.
Switch off the microscope (see Section 4.3.1.2).
Plug the cable of the focus linear sensor into connector (3-50/7) on the rear side of the stand and
switch on the microscope (see Section
4.3.1.1).
An incorrect installation of the focus linear sensor can cause problems in focusing the object.
The focus linear sensor can be activated and deactivated via the TFT display.
Fig. 3-31 Installing the focus linear sensor

Table of Contents

Related product manuals