EasyManua.ls Logo

Zenith XBV343 - Basic TV Connections; RF Coaxial Connection; Audio;Video Connection

Zenith XBV343
40 pages
Print Icon
To Next Page IconTo Next Page
To Next Page IconTo Next Page
To Previous Page IconTo Previous Page
To Previous Page IconTo Previous Page
Loading...
12
Connections (Continued)
Basic TV Connections
Make one of the following connections, depending on
the capabilities of your existing equipment.
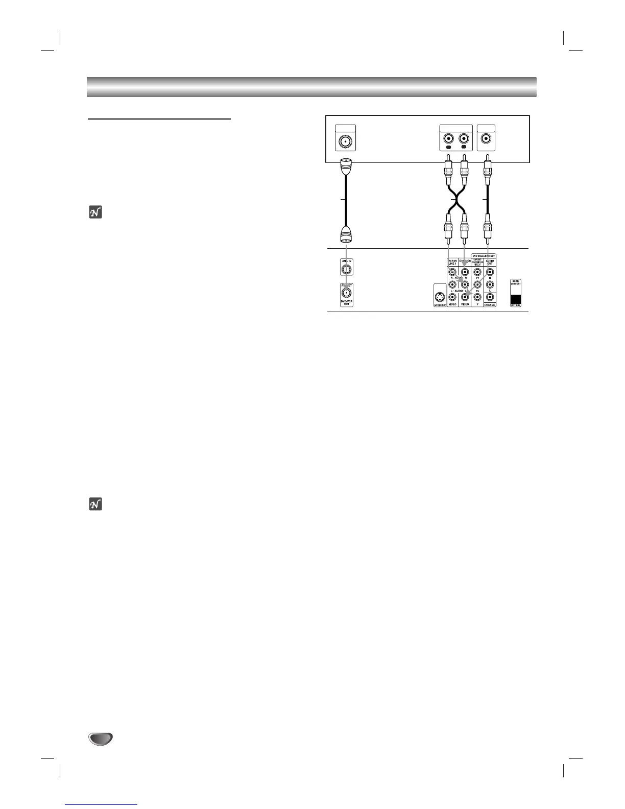
RF coaxial connection
Connect the RF.OUT jack on the DVD+VCR to the
antenna in jack on the TV using the 75-ohm Coaxial
Cable supplied (R).
ote
If you use this connection, tune the TV to the
DVD+VCR’s RF output channel (CH 3 or 4).
How to set the DVD+VCR’s RF output channel
1. While the DVD+VCR is turned off,
press and hold CH
(v/V) on the front panel for about five seconds.
The unit will turn itself on and “RF 03” or “RF 04” appears in
the display window.
2.
Use CH (v/V) on the front panel or CH/TRK (v/V) on
the remote control to change the RF output
channel (CH 03 or CH 04).
3.
Turn the DVD+VCR off and then on.
4.
Press the TV CH to 3 or 4 depending on the RF
output channel you had selected.
Now you can watch the DVD+VCR playback on CH3
or CH4 of your TV.
Audio/Video connection
11
Connect the DVD/VCR VIDEO OUT jack on the
DVD+VCR to the video in jack on the TV using the
video cable supplied (V).
22
Connect the Left and Right DVD/VCR AUDIO OUT
jacks on the DVD+VCR to the audio left/right in
jacks on the TV (A1) using the supplied audio
cables.
ote
If you use this connection, set the TV’s source selector
to VIDEO.
L
R
AUDIO INPUT
VIDEO
INPUT
ANTENNA
INPUT
Rear of TV
Rear of DVD+VCR
A1 VR

Table of Contents

Related product manuals