EasyManua.ls Logo

A&D GF-3000 - 18-4 Control Using CTS and RTS; 18-5 Settings Related to RS-232 C

A&D GF-3000
82 pages
Print Icon
To Next Page IconTo Next Page
To Next Page IconTo Next Page
To Previous Page IconTo Previous Page
To Previous Page IconTo Previous Page
Loading...
65
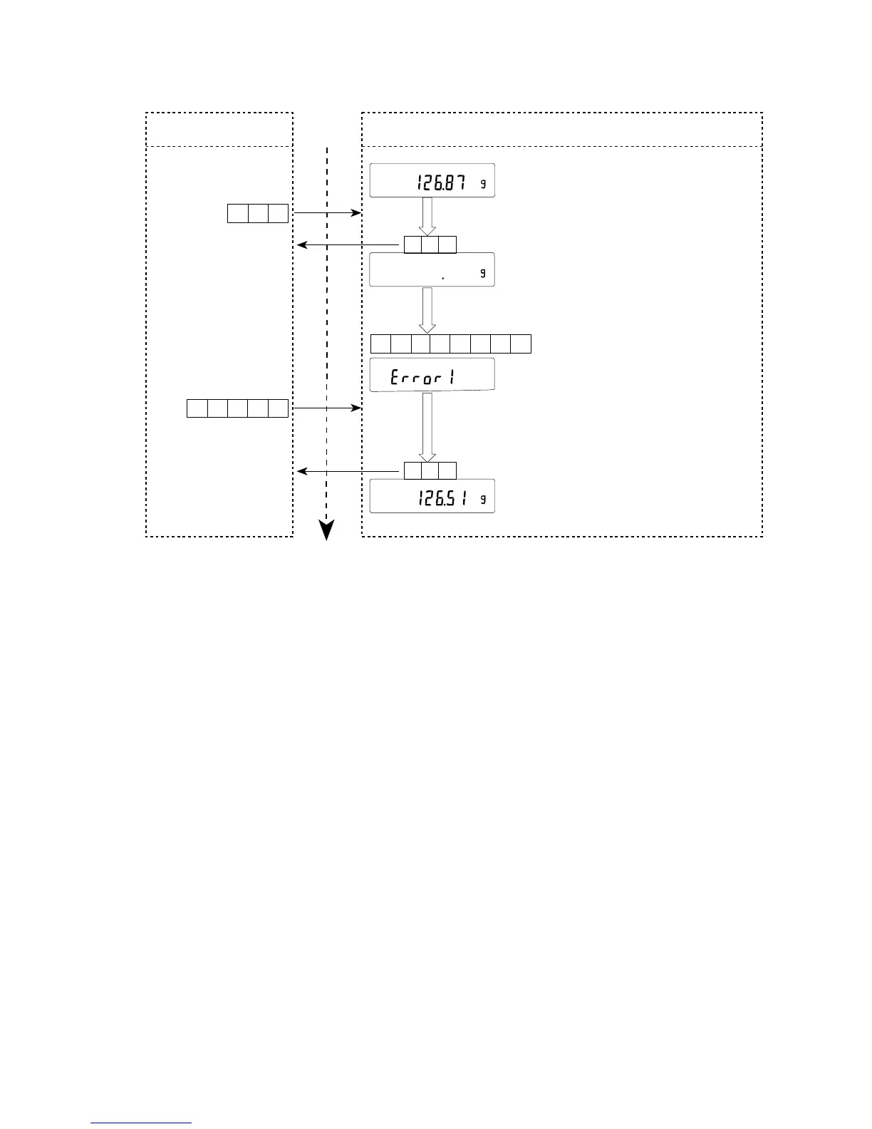
Error code
Weighing mode (unstable)
Weighing mode
Personal computer Time Balance
R command
R
C
R
L
F
AK
C
R
L
F
AK
C
R
L
F
C
R
1
L
F
1E,CE
When the CAL command is
received, the balance returns to
the weighing mode
Error code
CAL command
AC L
C
R
L
F
In process
Command received
Command completed
When the R command can not be
achieved due to unstable weighing:

Table of Contents

Other manuals for A&D GF-3000

Related product manuals