EasyManua.ls Logo

ABB XAC19590 - Fig. 60: Overview of Tightening Torques; Fig. 61: Overview of Speed Sensor Tightening Torque; Table of Tightening Torques

ABB XAC19590
136 pages
Print Icon
To Next Page IconTo Next Page
To Next Page IconTo Next Page
To Previous Page IconTo Previous Page
To Previous Page IconTo Previous Page
Loading...
Operation Manual / 4 Product description / A200-L
8 Disassembly and assembly / 8.14 Table of tightening torques
© Copyright 2018 ABB. All rights reserved. HZTL4036_EN Revision M August 2018
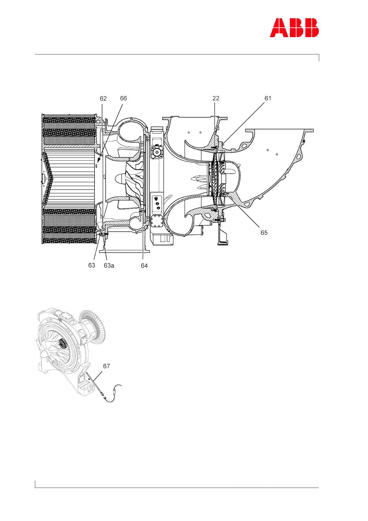
8.14 Table of tightening torques
Fig.60: Overview of tightening torques
Fig.61: Overview of speed sensor tightening torque
Page 88 / 108

Table of Contents

Related product manuals