EasyManua.ls Logo

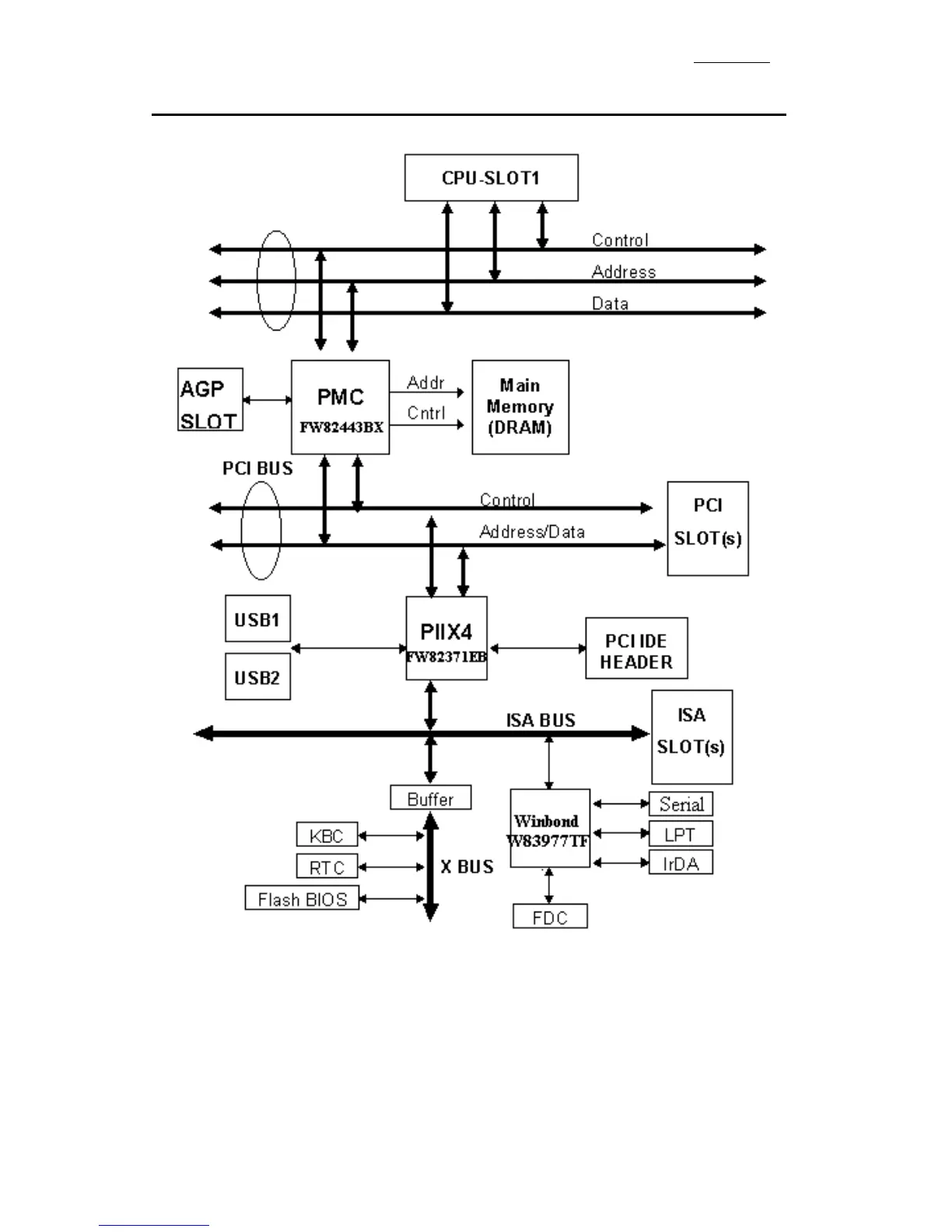
Abit BH6 - The System Block Diagram

Abit BH6
98 pages
Print Icon
To Next Page IconTo Next Page
To Next Page IconTo Next Page
To Previous Page IconTo Previous Page
To Previous Page IconTo Previous Page
Loading...
1-4 Chapter 1
(3)
The System Block Diagram

Related product manuals