EasyManua.ls Logo

ACT ACT1000 - ACT System Connectivity Diagram

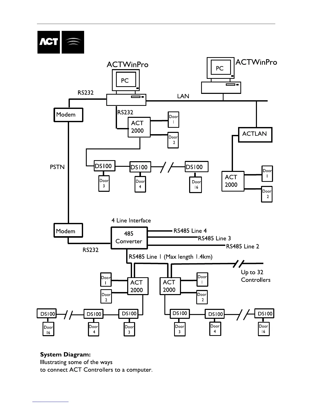
ACT ACT1000
35 pages
Print Icon
To Previous Page IconTo Previous Page
To Previous Page IconTo Previous Page
Loading...
ACT1000/2000 Operating Instructions Software Version 4.00-00
32
ACT System Diagram

Table of Contents

Related product manuals