EasyManua.ls Logo

Advantech Adam-4016 - Page 351

Advantech Adam-4016
398 pages
Print Icon
To Next Page IconTo Next Page
To Next Page IconTo Next Page
To Previous Page IconTo Previous Page
To Previous Page IconTo Previous Page
Loading...
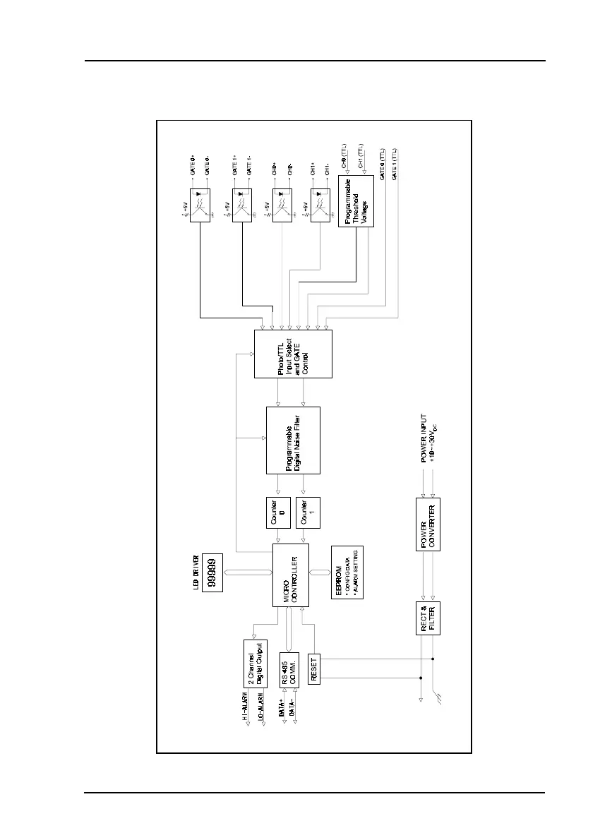
Appendix A Technical Specifications A-37
Appendix A
Figure A-16
ADAM-4080D Function Diagram

Table of Contents

Related product manuals