EasyManua.ls Logo

Advantech ADAM-5510/P31 - ADAM-5510;P31 Remote I;O Function

Advantech ADAM-5510/P31
202 pages
To Next Page IconTo Next Page
To Next Page IconTo Next Page
To Previous Page IconTo Previous Page
To Previous Page IconTo Previous Page
Loading...
ADAM-5510/P31 D-17
Appendix D
D.2 Remote I/O Modules Performance
ADAM-5510/P31 Remote I/O function provides network expansion
capability with many alternatives. In order for you to know more
precisely our superior performances in many aspects, we have here
listed four performance indicators for your reference:
Each ADAM-4000 module performance
Memory performance
Connecting 16 A I/O Modules performance
Connecting 32 Modules performance
D.2.1 Each ADAM-4000 Module Performance
When used a standalone device, ADAM-5510/P31’s performance
depends solely on how fast itself and the installed I/O modules
interact with Advantech Paradym-31. The AI/O Module Performance
can be judged by the response time required for a specific Function
Block to complete its execution. The following subsections show
representative operational statistics of different I/O modules recorded
under testing conditions. The test function block diagrams are
provided as following.
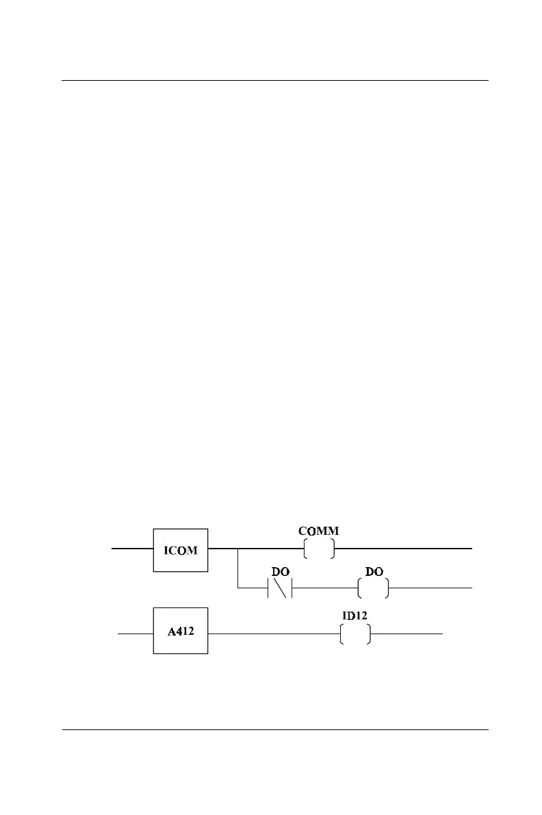
A ladder is written as below:
Figure D-2: Testing Ladder Flow Chart

Related product manuals