EasyManua.ls Logo

AERMEC WLRC30 - REMOTE CONTROL; Remote Control Overview and Operation

AERMEC WLRC30
20 pages
Print Icon
To Next Page IconTo Next Page
To Next Page IconTo Next Page
To Previous Page IconTo Previous Page
To Previous Page IconTo Previous Page
Loading...
F
A
N
T
U
R
B
O
ON/OFF
MODE
I FEEL
T-ON/T-OFF
TEMP
CLOCK
LIGHT
WiFi
SLEEP
2
1
5
3
8
4
7
16
13
11
9
14
12
15
17
6
10
4
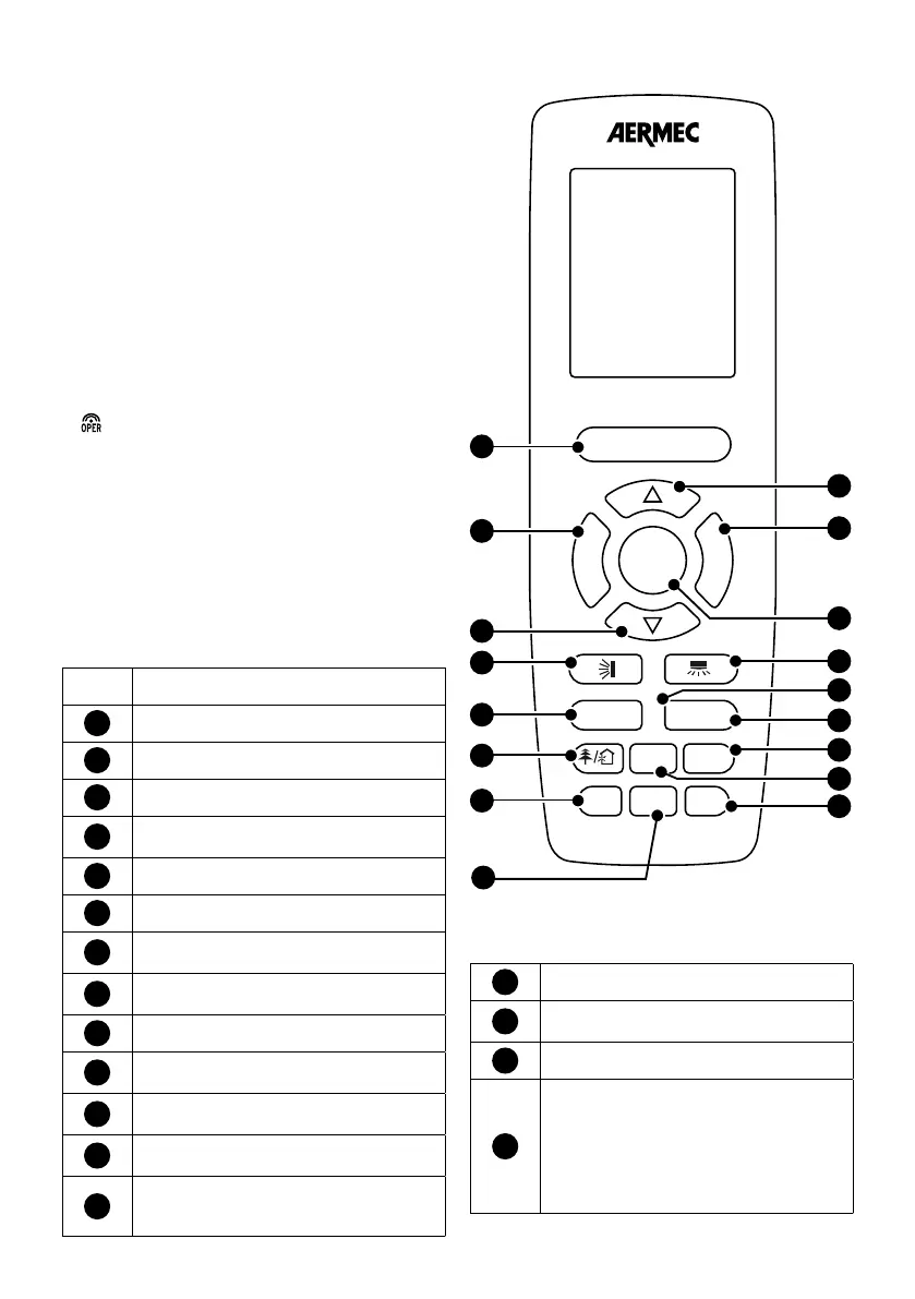
1. REMOTE CONTROL
Some of the buttons of the remote control are
not used for the required air conditioner and are
therefore not described in these instructions.
Pressing of these keys will not affect the operation of
the air conditioner.
Check there are no obstructions between the
receiver and the remote control.
The maximum distance between the IR receiver and
the remote control is 8 metres, to ensure the signal is
correctly received.
Position the remote control at least 1 metre away
from TVs, radios, stereos, etc. There may be some
audio and video interference.
Do not drop or throw the remote control.
Do not let liquids enter the remote control, and do
not leave it in direct sunlight or in hot places.
When the remote control sends a signal the symbol
appears on the display, the receiver of the indoor
unit emits a sound to confirm reception of the signal.
INDEX FUNCTION OF THE BUTTON:
1
Switches the unit ON or OFF
2
Increases value of the active function
3
Decreases value of the active function
4
Activates or deactivates the maximum fan
speed (TURBO)
5
Sets the fan speed
6
Operating mode selection
7
Set the function discharge grille with
verrtical adjustment (swing function)
8
Set the function discharge grille with
horizontal adjustment (swing function)
9
Activates or deactivates the IFEEL function
10
Activates, deactivates or changes the
programmed switch ON timer
11
Activates, deactivates or changes the
programmed switch OFF timer
12
Activates or deactivates the HEALTH or the
AIR function
13
It displays in the indoor unit’s monitor
the set temperature and the room air
temperature
14
Sets the time on the system clock
15
Activates or deactivates the display of
information of the indoor unit
16
Activates or deactivates the Wi-Fi function
17
Activates or deactivates the SLEEP function
(this function is applicable to the cooling
and heating modes). Once activated this
function will control the unit in order
to maintain an ideal temperature (this
temperature is automatically calculated and
cannot be set)

Related product manuals