EasyManua.ls Logo

Alfa Laval SRC - Page 33

Alfa Laval SRC
54 pages
Print Icon
To Next Page IconTo Next Page
To Next Page IconTo Next Page
To Previous Page IconTo Previous Page
To Previous Page IconTo Previous Page
Loading...
31
Exploded drawing
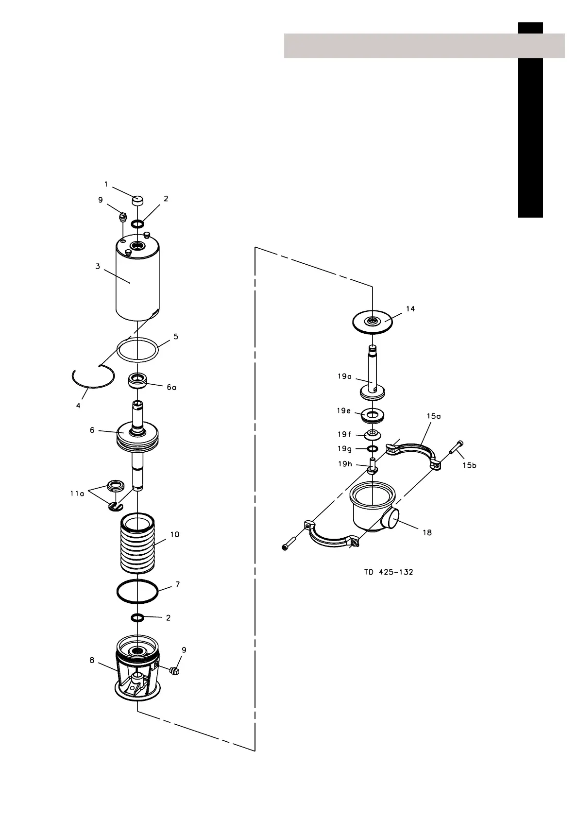
This page shows an exploded drawing of SRC, stop
valve 38mm - 101.6mm.
The drawing includes all items of the valve.
They are identical with the items in the Spare Parts List
Drawing/Parts list

Related product manuals