EasyManua.ls Logo

Allen-Bradley SLC 500 - Page 10

Allen-Bradley SLC 500
24 pages
Print Icon
To Next Page IconTo Next Page
To Next Page IconTo Next Page
To Previous Page IconTo Previous Page
To Previous Page IconTo Previous Page
Loading...
10 SLC 500™ RTD/Resistance Input Module
Publication 1746-IN012B-EN-P - May 2001
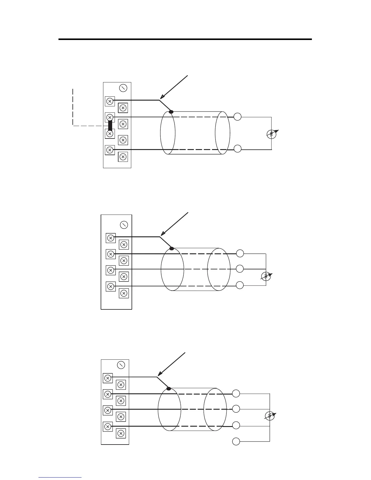
2-Wire RTD Interconnection
3-Wire RTD Interconnection
4-Wire RTD Interconnection
Cable Shield
Add Jumper
Return
Return
Belden #9501 Shielded Cable
RTD
RTD
Shield
CH 0 RTD
CH 0 Sense
CH 0 Return
Cable Shield
Return
Return
Belden #9501 or #9533 Shielded Cable
RTD
RTD
Shield
CH 0 RTD
CH 0 Sense
CH 0 Return
Sense Sense
Shield
CH 0 RTD
CH 0 Sense
CH 0 Return
Cable Shield
Return
RTD
Sense
RTD
Sense
Return
Belden #9501 or #9533 Shielded Cable
Belden #9501 or #9533
Shielded Cable
Leave one sensor wire open.

Other manuals for Allen-Bradley SLC 500

Related product manuals