EasyManua.ls Logo

Alltion AM-2000 - Installation of Low-Position Wall Mount

Alltion AM-2000
46 pages
Print Icon
To Next Page IconTo Next Page
To Next Page IconTo Next Page
To Previous Page IconTo Previous Page
To Previous Page IconTo Previous Page
Loading...
Alltion (Guangxi) Instrument Co., Ltd.
AM-2000 User’s Manual | Product Assembly
15
Installation of Low-Position Wall Mount.
The wall to install the low position wall mount must be made of concrete or material with higher
hardness than concrete. Otherwise, it will be risk of falling down.
The wall to install the low-position wall mount shall be smooth enough, otherwise, it will cause
the product to be tilted after installation.
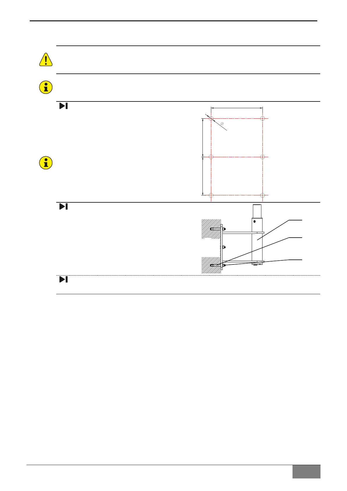
Drill 6 holes in the wall with Φ14 driller,
the hole depth is 75mm, The position
and dimension of the hole is as shown
on the right diagram;
170
125125
1
4
If the position and dimension of the
installation hole are incorrect, the
installation could not be done.
Install the low-position wall mount (1) to
the wall with hole by M10 expandable
bolts (2), then tighten the nuts (3).
Finish the installation of the
low-position wall mount.
1
2
3
Wall

Table of Contents

Related product manuals