EasyManua.ls Logo

Alltion AM-2000 - Installation of Binocular Head Barrel

Alltion AM-2000
46 pages
Print Icon
To Next Page IconTo Next Page
To Next Page IconTo Next Page
To Previous Page IconTo Previous Page
To Previous Page IconTo Previous Page
Loading...
Alltion (Guangxi) Instrument Co., Ltd.
Product Assembly | AM-2000 User’s Manual
High-Position Wall Mount
The wall to install the high-position wall mount must be made of concrete or material with higher
hardness than concrete. Otherwise, it will be risk of falling down.
The wall to install the high-position wall mounted support shall be smooth enough, otherwise, it
will cause the product to be tilted after installation.
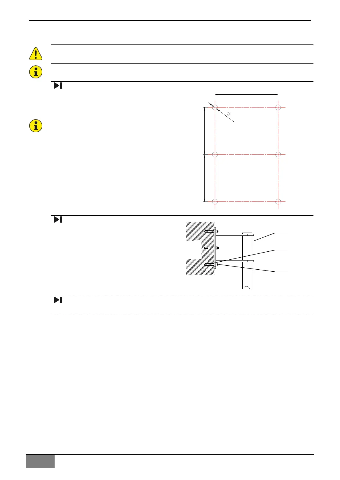
Drill 6 holes in the wall with Φ14
driller, the hole depth is 75mm, The
position and dimension of the hole is
as shown on the right diagram;
170
125125
1
4
If the position and dimension of the
installation hole are incorrect, the
installation could not be done.
Install the high-position wall mount (1)
to the wall with hole by M10
expandable bolts (2) and tighten the
nuts (3).
Finish the installation of the
high-position wall-mount.
1
2
3
Wall

Table of Contents

Related product manuals