EasyManua.ls Logo

Allweiler AEB1E - RG Version (Open-Feed Version with Internal Gearbox Mounting); Function; Shaft Seals; Packing Gland

Default Icon
60 pages
Print Icon
To Next Page IconTo Next Page
To Next Page IconTo Next Page
To Previous Page IconTo Previous Page
To Previous Page IconTo Previous Page
Loading...
Layout and function
3.2.2 RG version (open-feed version with internal
gearbox mounting)
123 4 56
7489
10
11 10 12 13
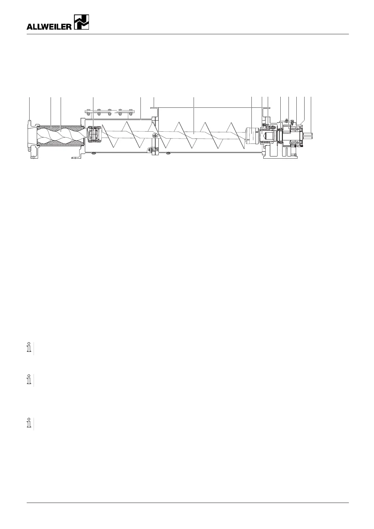
Fig. 4 Layout AE , RG design (ope n-feed version w ith internal gearbox mounting)
1 Pressure side 6
Suction side/suction casing
11
Spur gears
2
Stator
7
Universal joint shaft
12 Bearing pedestal
3 Rotor 8
Stub shaft
13
Top shaft
4 Joint 9
Shaft seal
5
Plug housing 10 Bearing
3.3 Function
Self-priming, rotating po sitive displacement pump
One, two, four or eight stages
The rotor rotates in a station ary stator and displaces the
liquid in the direction of the pump outl et
Transpo rt and dosage of, for example, highly viscous,
abrasive or solids-containing media
3.4 Shaft seals
Shaft seals used ( Shaft seals, Page 44).
Only one of the followin g shaft seals can be used.
3.4.1 Packing gland
The packing gland must always leak slightly to carry the
frictional heat aw ay.
Packing gland, housing heated or co oled (optional).
3.4.2 Mechanical seals
Mechanical seals have fu nctional leaks.
Single-action, unbal anced mechanical seal, optionally with
throttle ring
Single-action mechanical seal with quenching
Double-action, balanc ed mechanical seal with external
ushing
3.5 Bearings and lubrication
Close-coupled pump, IE, DE, ZE design:
Bearing of the stub shaft in the reinforced beari ngs of the
drive motor
Directly mounted pump, ID, ZD, RG design:
Angular and groove bal l bearings lubricated with grease
and protected from jet water
Lubrication of the b earings via grease nipples (ID, ZD )
Oil-lubricated spur gear (RG)
Special designs possible on request, for example, oil bath
lubrication (ID)
Universal joint shaft:
Oil-lubricated and liquid-en capsulated pin joints
260371 176-982/0 BA-2020.05 en-US AE 11

Table of Contents

Related product manuals