EasyManua.ls Logo

Alpha Group OutBack Power Mate Micro - Figure 7, Monitoring Screen Overview; Monitoring Screen; Table 3, Monitoring Screen Icons

Alpha Group OutBack Power Mate Micro
26 pages
Print Icon
To Next Page IconTo Next Page
To Next Page IconTo Next Page
To Previous Page IconTo Previous Page
To Previous Page IconTo Previous Page
Loading...
Product Features
11
(06/2016)
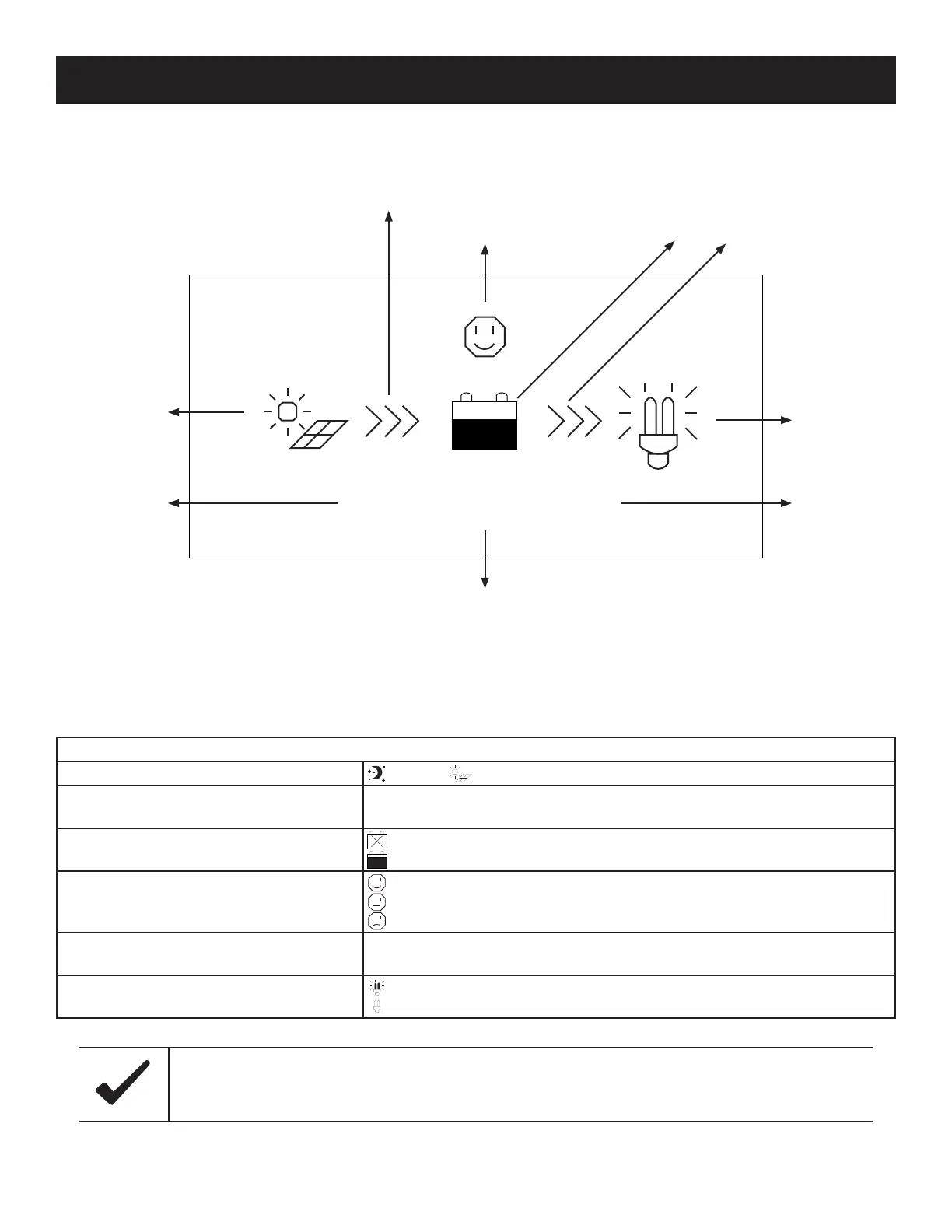
Monitoring Screen
Figure 7, Monitoring Screen Overview
Table 3, Monitoring Screen Icons
In Manual Mode, pressing “OK” will switch the load status between “ON” and OFF”.
Notice
Battery Status
Charge
Current Icon
Load
Current Icon
Load Status
Icon
Day and
Night Icons
PV Voltage
and Current
Values
Load Voltage
and Current
Values
Battery
Voltage and
Current Values
Battery Icon
17.5V 13.8V 13.8V
15.2A 5.2A 10.0A
Monitoring Screen Icons
Day and Night Icons - Night, - Day: The threshold voltage is 1V. Higher than 1V is daytime.
Charge Current Icon
The charge current icon will be static if there is no activity and dynamic if there is
a charge current.
Battery Icon
- Over Discharge
- Normal
Battery Status Icons
- Normal Voltage
- Under Voltage
- Over Discharge
Load Current Icon
The load current icon will be static if there is no activity and dynamic if there is a
discharge current.
Load Status Icon
- Load On
- Load O

Table of Contents