EasyManua.ls Logo

Alpha-InnoTec LWDV - Electrical Circuit Diagram (Part 3;3)

Alpha-InnoTec LWDV
40 pages
Print Icon
To Next Page IconTo Next Page
To Next Page IconTo Next Page
To Previous Page IconTo Previous Page
To Previous Page IconTo Previous Page
Loading...
36
Subject to technical amendments without prior notice | 83055800cUK – Translation of the operating manual | ait-deutschland GmbH
LWDV 9
-
a
-K40
-X7
-R1
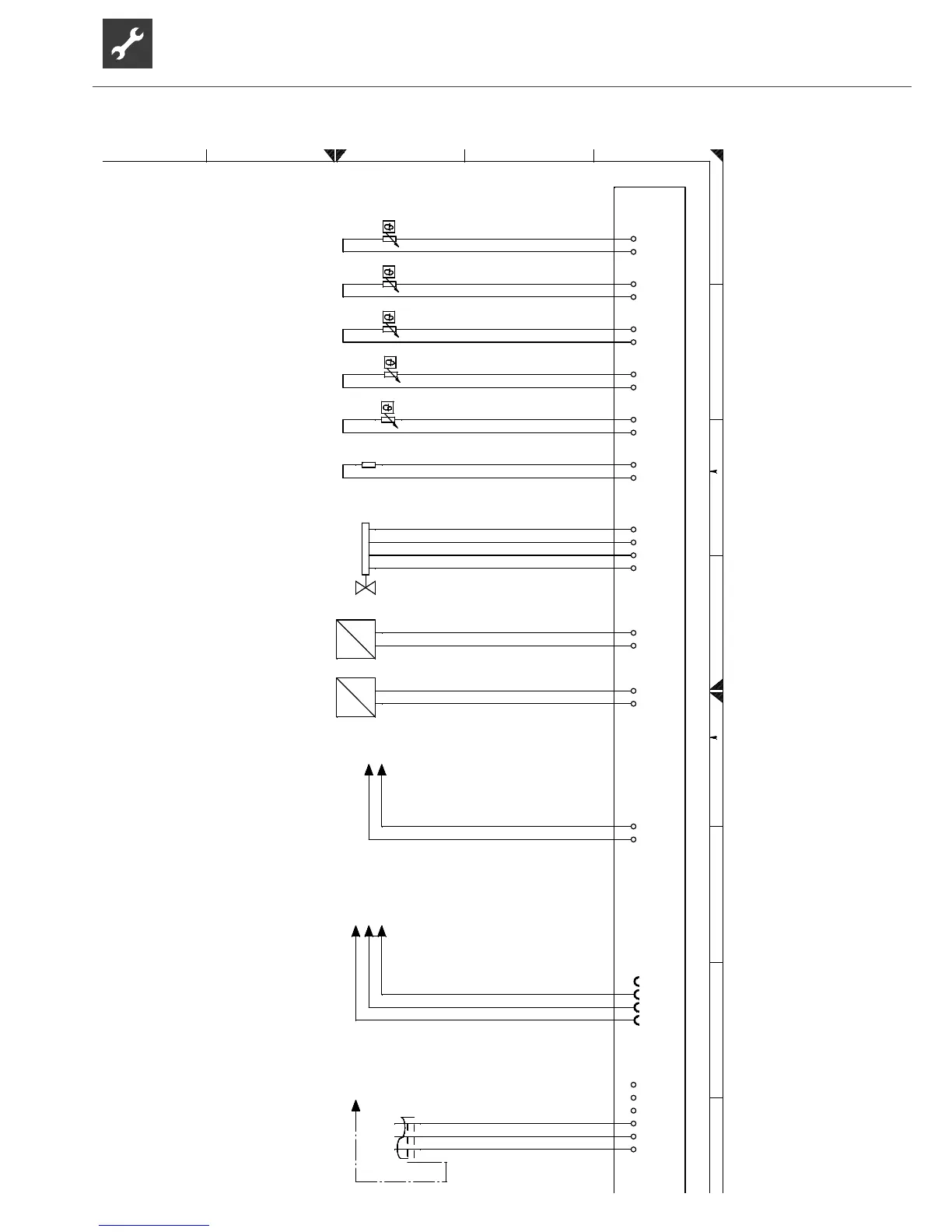
Legend:
Equipement
B10
B11
K22
K40
R1
R2
R3
R4
R5
R10
-R2
HD
ND
TSG1
TVD
TWE
THG
TSG2
CW
-R3
UK
Function
High-pressure sensor
Low pressure sensor
Electronic expansion valve
Controller board; Attention: I-max = 6,3A/230VAC
Suction sensor, condenser
Sump heating sensor
Heat source input sensor
Hot gas sensor
Suction sensor, evaporator
Encoding resistor
-R4
817449a
-R5
-R9
21,5kOhm
-K22
-X6
-B10
-X8
-B11
-X10
-X11
123 45678
12 8
A
B
C
D
E
F
A
B
C
D
E
F
Blatt
Bl.
3
3
3 4567
AIT
817449
Stromlaufplan
ait-deutschland GmbH
PEP006/2017
ÄM999/2018
26.01.2017
07.03.2018
AP
AP
\z21
NT1
TSG1
GND
NT2
TVD
GND
NT3
TWE
GND
NT4
THG
GND
NT5
TSG2
GND
NT9
CW
GND
B/
A
A/
B
HD
I
P
GND
AIN1
ND
I
P
GND
AIN2
VEN 0-10V
/1.B8
VEN GND
/1.B8
AO1
GND
Mod-GND
/1.B3
Mod-A+
/1.B3
Mod-B-
/1.B3
6
5
4
PE
/2.C7
GND/LIN/12V
3
2
1
Änderung Datum
Datum
Bearbeiter
Geprüft
NormName
24.09.2014
Pfleger
R.
Green
Yellow
White
Brown
12 12
1
4
brown
3
white
2
green
321
PE
LWDV Circuit diagram 3/3

Table of Contents

Related product manuals