EasyManua.ls Logo

Alpine HDA-M80 - Page 76

Alpine HDA-M80
180 pages
Print Icon
To Next Page IconTo Next Page
To Next Page IconTo Next Page
To Previous Page IconTo Previous Page
To Previous Page IconTo Previous Page
Loading...
ALPINE HDA-M80/HDA-F60/HDA-V90 68-44781Z25-A (EN/DE/FR/ES/IT/SE/RU/CS)ALPINE HDA-M80/HDA-F60/HDA-V90 68-44781Z25-A (EN/DE/FR/ES/IT/SE/RU/CS)
8-ES
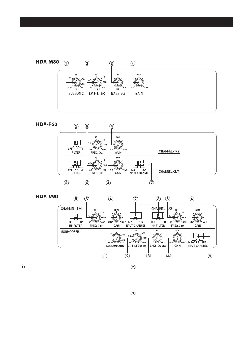
Control de ajuste de ganancia de entrada
Ajuste la ganancia de entrada del HDA-M80/
HDA-F60/HDA-V90 en la posición mínima.
Utilizando un CD dinámico como fuente,
aumente el volumen de la unidad principal
hasta que haya distorsión del sonido de salida.
Después, reduzca de un paso el volumen (o
hasta que la salida no salga distorsionada).
Entonces, aumente la ganancia del amplificador
hasta que el sonido de los altavoces salga
distorsionado. Reduzca poco a poco la ganancia
hasta que el sonido no salga distorsionado para
obtener un ajuste de ganancia óptimo.
Interruptor selector de modo del filtro divisor
(solo HDA-F60)
a) Ajuste este interruptor en la
posición OFF cuando vaya a
utilizar el amplificador con
altavoces de rango completo o
cuando use crossover electrónico
externo.
Todo el ancho de banda de la
frecuencia se emitirá por los
altavoces sin atenuación de
frecuencias altas o bajas.
b) Fíjelo en la posición “HP cuando se
utilice el amplificador para excitar
el sistema de altavoz de agudos/
tonos medios. Las frecuencias bajo
el punt de cruce se cortarán (a
razón de 12 dB por octava).
NOTA:
En este caso, se reduce el nivel
máximo de potencia Bass EQ.
c) Fíjelo en la posición “LP cuando se
utilice el amplificador para excitar
el altavoz de frecuencias ultrabajas.
Las frecuencias sobre el punto de
cruce se cortarán (a razón de 12 dB
por octava).
Botón de ajuste de frecuencia de crossover
(solo HDA-F60/HDA-V90)
Utilice este control para ajustar la frecuencia de
crossover entre 50 y 400 Hz.
Interruptor de selección de canal de entrada
(CHANNEL-3/4) (solo HDA-F60/HDA-V90)
AJUSTES DEL INTERRUPTOR
Antes de cambiar cada interruptor de selector, apague la unidad e introduzca un pequeño destornillador
o similar perpendicularmente al interruptor.
Para usar el panel superior interior, desmonte la cubierta superior. Consulte “DESMONTAJE DE LA
CUBIERTA SUPERIOR” (página 3).
Filtro subsónico (solo HDA-M80/HDA-V90)
El filtro subsónico sirve para cortar las
frecuencias ultrabajas de la señal de entrada
antes de amplificarla.
Se recomienda por diversos motivos:
Para proteger los altavoces demasiado
pequeños o incapaces de reproducir
frecuencias ultrabajas.
Para reducir el consumo malgastado de la
reproducción de sonido inaudible.
Para proteger los subwoofers en ubicaciones
ventiladas de la excursión por debajo de la
frecuencia de sintonización.
Botón de ajuste de frecuencia de crossover
(LP FILTER) (solo HDA-M80/HDA-V90)
Utilice este control para ajustar la frecuencia de
crossover entre 50 y 400 Hz.
Botón de ajuste del ecualizador de graves
(solo HDA-M80/HDA-V90)
Añada un aumento de graves de 50 Hz hasta
+12 dB para ajustar la respuesta de los graves.

Related product manuals