EasyManua.ls Logo

Ametek 900

Ametek 900
256 pages
To Next Page IconTo Next Page
To Next Page IconTo Next Page
To Previous Page IconTo Previous Page
To Previous Page IconTo Previous Page
Loading...
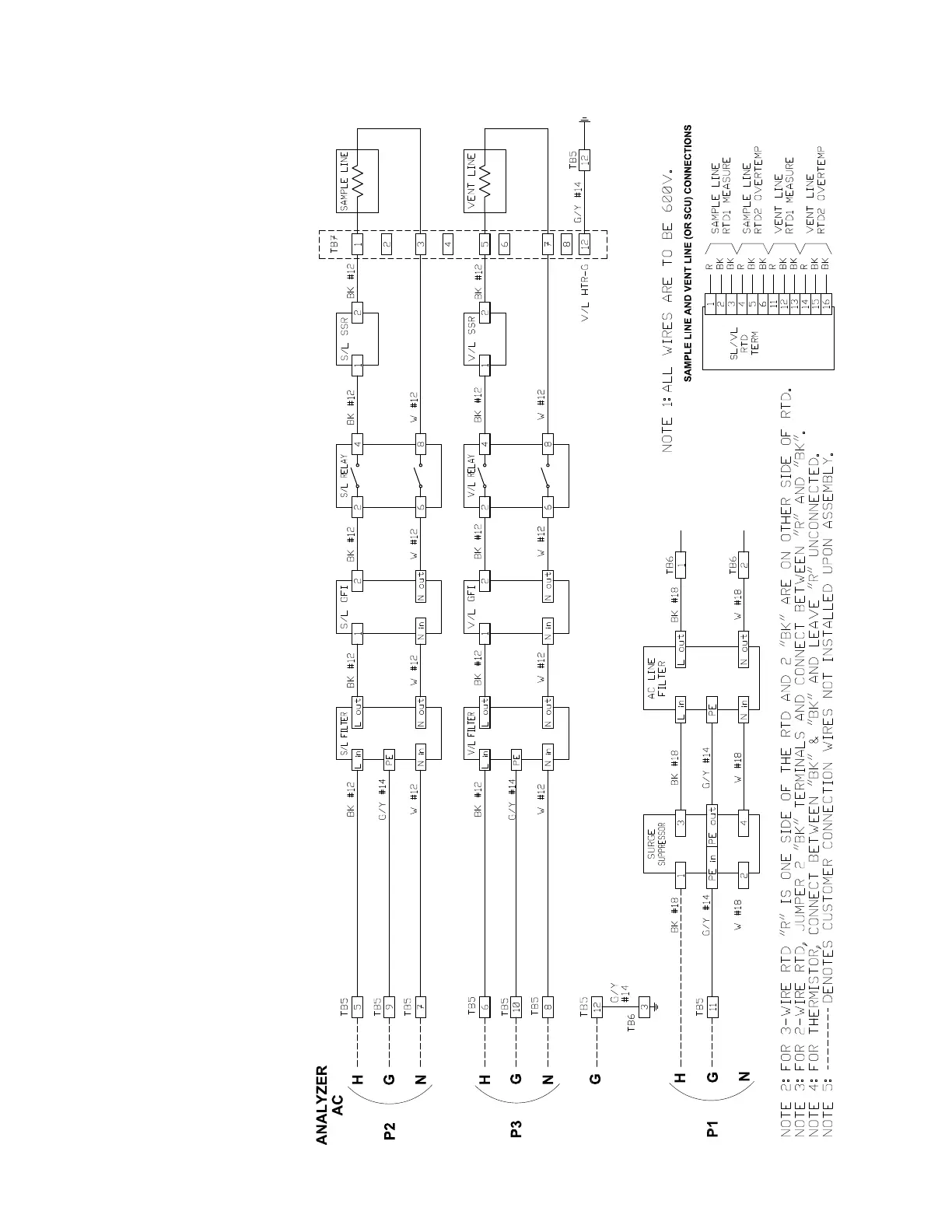
A-6 | Model 900 ADA / Model 930 Sulfur Pit Analyzers
Lower Cabinet Wiring, CE/GP Analyzers, 120V (100-1341-3)

Table of Contents

Related product manuals