EasyManua.ls Logo

Ametek 900

Ametek 900
256 pages
To Next Page IconTo Next Page
To Next Page IconTo Next Page
To Previous Page IconTo Previous Page
To Previous Page IconTo Previous Page
Loading...
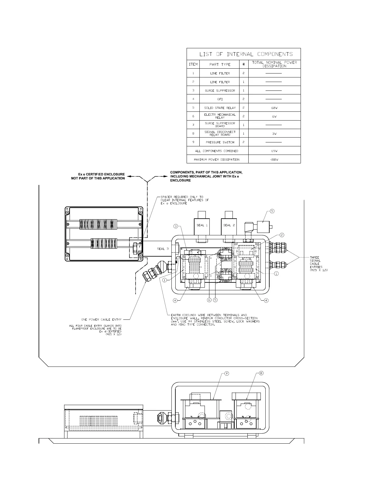
A-16 | Model 900 ADA / Model 930 Sulfur Pit Analyzers
Model 9xx-Series Analyzer Type 200 Disconnect Enclosure Details

Table of Contents

Related product manuals