EasyManua.ls Logo

ARDETEM PECA 30 - 3-Phase Balanced Network Wiring

ARDETEM PECA 30
54 pages
Print Icon
To Next Page IconTo Next Page
To Next Page IconTo Next Page
To Previous Page IconTo Previous Page
To Previous Page IconTo Previous Page
Loading...
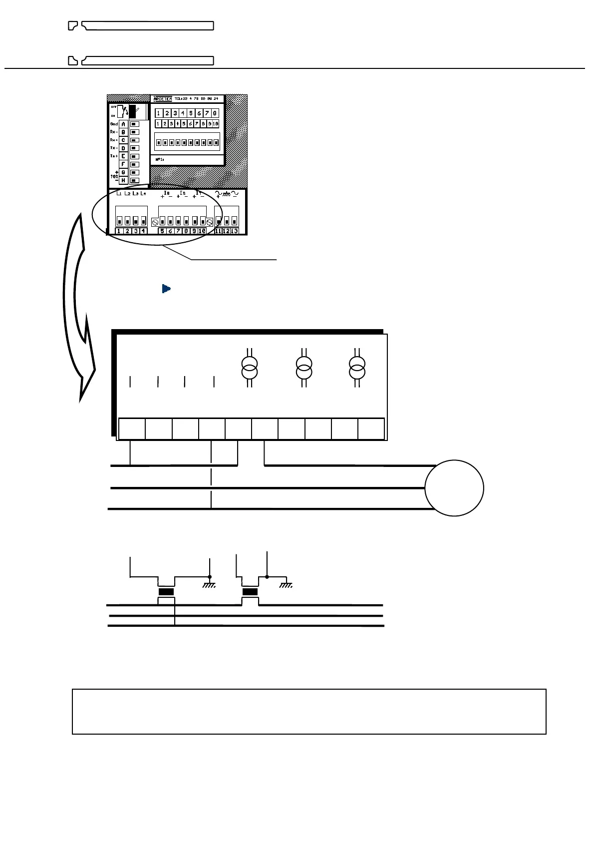
PECA 30 / 30E : wiring schema
46
ARDETEM
3-PHASE BALANCED NETWORK WIRING : NETWORK Nr2
PECA
- calibre tension
programmable 150V ou 500V
- TC interne à choisir à la
commande : 1A ou 5A
L1 L2 L3 L4 IR IS IT
+ - + - + -
1 2 3 4 5 6 7 8 9 10
Phase R
Phase S load
Phase T
With external CT and VT :
phase R
phase S
phase T
S1
P1 P2
TC
S1
P1 P2
TP
1 4 5 6
Input : Measured network
Note : If the installation imposes in addition an external CT or VT :
Respect the wiring sense : to P1 corresponds S1 and to P2 corresponds S2.
Wire the secondary S2 of CT to the ground.
- voltage calibre,
programmable 150V or 500V
- internal CT : 1A or 5A
to choose at the order