EasyManua.ls Logo

BASF 6106 - Drive Motor Control

Default Icon
78 pages
Print Icon
To Next Page IconTo Next Page
To Next Page IconTo Next Page
To Previous Page IconTo Previous Page
To Previous Page IconTo Previous Page
Loading...
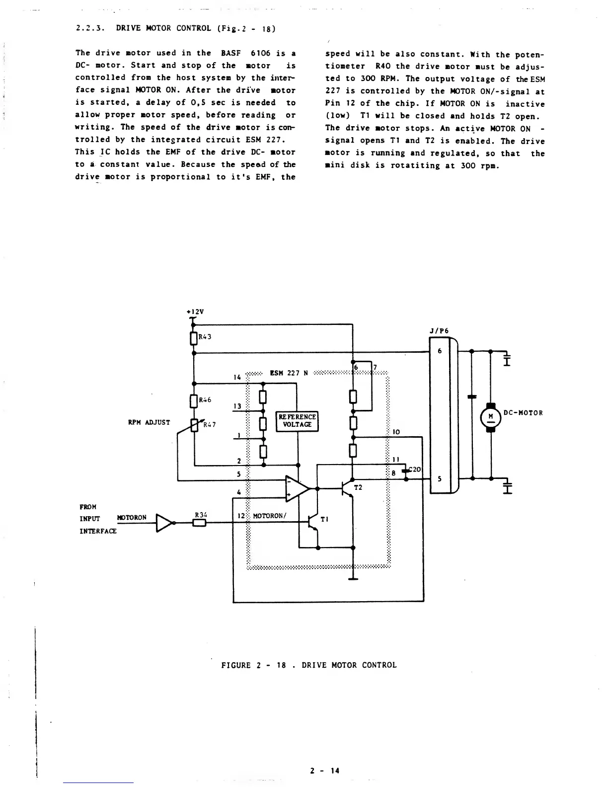
2.2.3. DRIVE MOTOR CONTROL
(Fig.
2
-
18)
The drive motor
used in the
BASF 6106
is
a
DC-
motor. Start
and
stop of the
motor
is
controlled
from
the host system
by the
inter-
face
signal MOTOR
ON.
After the drive
motor
is started,
a delay
of
0,5
sec
is needed
to
allow
proper
motor speed,
before reading
or
writing.
The speed
of the
drive motor
is con-
trolled
by the
integrated
circuit
ESM 227.
This
IC holds the EMF
of the drive DC- motor
to a constant
value. Because
the speed of the
drive motor
is proportional
to it's EMF, the
speed
will
be also
constant.
With
the
poten-
tiometer
R40 the
drive
motor
must
be adjus-
ted to
300
RPM.
The
output
voltage
of
the ESM
227
is controlled
by
the MOTOR
ON/-signal
at
Pin
12
of the chip.
If MOTOR
ON
is
inactive
(low)
T1 will
be
closed
and
holds
T2
open.
The
drive
motor
stops. An
active MOTOR
ON
-
signal
opens T1
and
T2 is
enabled.
The drive
motor
is
running
and
regulated,
so that the
mini
disk
is rotatiting
at
300 rpm.
12V
J/P6
RPM
ADJUST
FROM
INPUT
H0TOR0N
INTERFACE
DC-MOTOR
\^S*
^ ^
FIGURE
2
-
18 . DRIVE
MOTOR CONTROL
2-14

Other manuals for BASF 6106