EasyManua.ls Logo

BASF 6106 - Index Detector

Default Icon
78 pages
Print Icon
To Next Page IconTo Next Page
To Next Page IconTo Next Page
To Previous Page IconTo Previous Page
To Previous Page IconTo Previous Page
Loading...
2.2.7.
INDEX/SECTOR-
and
READY
DETECTOR
2. 2.
7.1.
INDEX/SECTOR
DETECTION
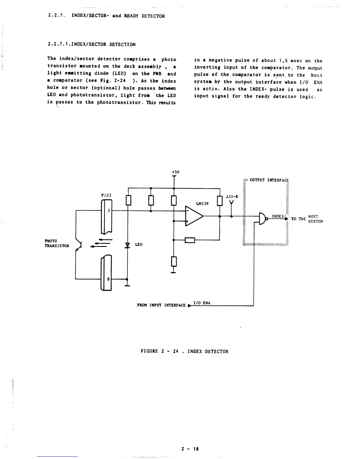
The
index/sector
detector
comprises
a
photo
transistor
mounted
on the
deck
assembly
,
a
light
emmitting
diode
(LED)
on
the PWB
and
a
comparator
(see
Fig.
2-24
).
As
the
index
hole
or
sector
(optional)
hole
passes
between
LED
and
phototransistor,
light
from
the
LED
is
passes
to
the
phototransistor.
This
results
in a
negative
pulse of
about
1,5
msec
on the
inverting
input
of
the
comparator.
The
output
pulse
of
the
comparator
is sent
to
the
host
system
by
the
output
interface
when
I/O ENA
is
activ.
Also
the
INDEX-
pulse
is
used
as
input
signal
for the
ready
detector
logic.
5V
PHOTO
TRANSISTOR
OUTPUT
INTERFACE
INDEX
I
HOST
»
TO
THE
sysTEM
FROM
INPUT
INTERFACE
fr-
FIGURE
2
-
24
. INDEX
DETECTOR
18

Other manuals for BASF 6106