EasyManua.ls Logo

BCS 718 - Page 24

BCS 718
51 pages
Print Icon
To Next Page IconTo Next Page
To Next Page IconTo Next Page
To Previous Page IconTo Previous Page
To Previous Page IconTo Previous Page
Loading...
4. TRANSMISSION
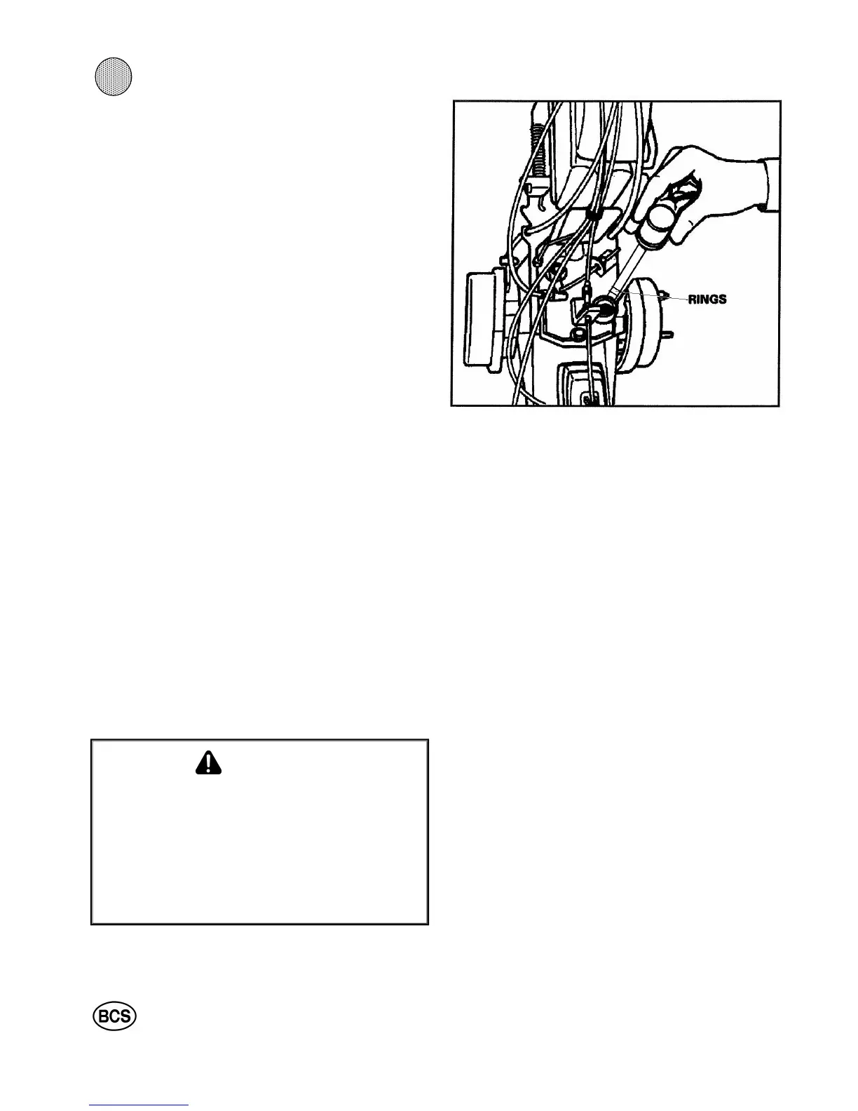
For shipping purposes, the transmission (gear case)
filler hole is sealed with a plastic plug and the dipstick
is in the owner's kit.
Remove the plug. Before installing the dipstick, it is
important to oil the O-ring with a light engine oil.
Then install the dipstick on the hole (see drawing).
Check the level of gear oil at this time (see "Gearbox
Lubrication" on page 25).
5. ENGINE PRE-SERVICE
BRIGGS AND STRATTON ENGINES
Remove and discard the thimble-shaped, clear plastic
cover from the oil breather tube located to the left of
the carburettor.
Remove the crankcase oil filler plug (or dipstick) and
check that the oil is at proper level (see "Engine
crankcase lubrication" on page 25 and its specific use
and care manual).
HONDA AND KOHLER ENGINES
Check the oil fill cap/dipstick at the left of engine. If oil
level is below full mark, see "Engine crankcase lubri-
cation" on page 25.
No other pre-service is required. For Honda engine
operating and service instructions see "Honda engine
owner's manual 31ZH7622".
ELECTRIC SYSTEM BATTERY
The battery is a 12 Volt 14 : 16 AH
(dimensions: mm 160x90x161 - ref. YB16;
or mm 190x127x160 ref. UR1).
Push the unit to an open ventilated spot.
Wear safety goggles and gloves when filling the cells
with the electrolyte solution.
Follow instructions supplied with the battery for filling
with electrolyte, maintaining fluid level in the cells and
charging and recharging.
DANGER
The battery electrolyte is a strong acid.
The acid or the fumes from it can cause severe burns.
The battery constantly emits hydrogen gas which can
be exploded by flame or sparks. Avoid contact with the
battery acid.
Always fill the battery in a well ventilated place and do
not bring flame or sparks of any kind near the battery.
If acid contacts your body, flood the area immediately
with soap and water.
24
2 2

Table of Contents

Related product manuals