EasyManua.ls Logo

berlinger Fridge-tag 2 E - Page 34

Default Icon
54 pages
Print Icon
To Next Page IconTo Next Page
To Next Page IconTo Next Page
To Previous Page IconTo Previous Page
To Previous Page IconTo Previous Page
Loading...
1. Alarm triggered: alarm symbol and warning symbol on display
2. Alarm confirmed within the set temperature limits: OK symbol on display
3. Alarm triggered: alarm symbol on warning symbol on display.
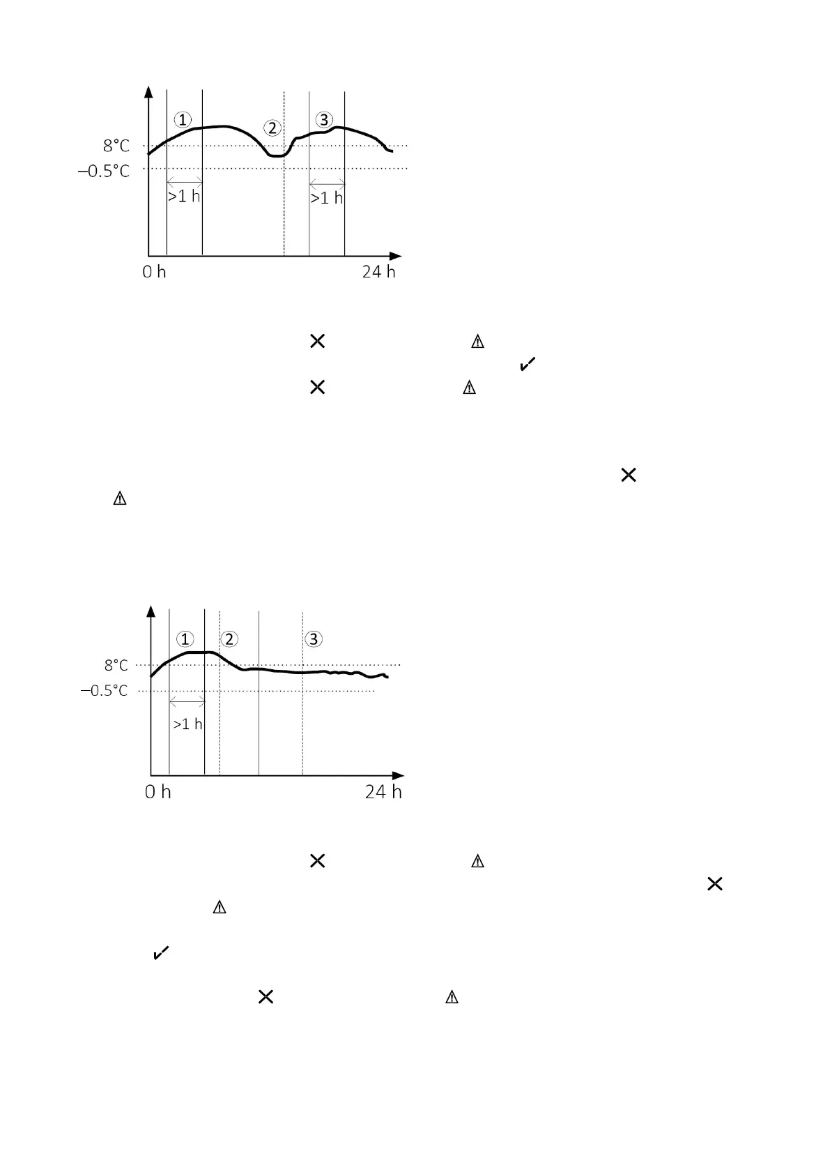
2. Device is outside the set alarm limits
If the READ button is pressed still during a temperature violation the alarm symbol and the warning
symbol will stay on the display for the corresponding alarm.
Settings: upper temperature limit Temperature >8.0°C and duration >1 hour, lower temperature limit
<–0.5°C and duration 1 hour
1. Alarm triggered: alarm symbol and warning symbol on display.
2. Alarm confirmed when the temperature exceeds the set temperature limits: alarm symbol and
warning symbol remain on display.
3. Temperature is back within the alarm limits. Now the alarm can be successfully confirmed. OK
symbol on display.
Note: How the alarm symbol and the warning symbol react is specified during configuration of the
device in the factory settings.
Berlinger & Co. AG User Manual Fridge-tag - 1
Page 31 of 51

Other manuals for berlinger Fridge-tag 2 E