EasyManua.ls Logo

Big Joe M22 - M22 Lift Truck

Big Joe M22
58 pages
Print Icon
To Next Page IconTo Next Page
To Next Page IconTo Next Page
To Previous Page IconTo Previous Page
To Previous Page IconTo Previous Page
Loading...
1-2 BL-M22EP-0119 - 01-11-2019
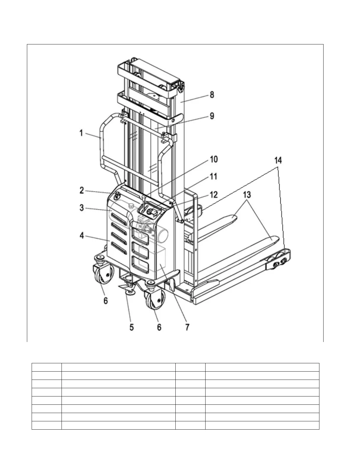
Figure 1-2. M22 Lift Truck
R3851
Pos. # Description Pos. # Description
1 Handle 8 Frame / Mast
2 Battery Charger Cord 9 Lift Cylinder
3 Pump and Motor Assembly 10 Lift / Lower Lever
4 Cover 11 Battery Discharge Indicator (BDI)
5 Foot Actuated Floor Lock 12 Emergency Stop Switch
6 Casters 13 Adjustable Forks
7 Battery 14 Adjustable Straddle Legs

Table of Contents

Related product manuals