EasyManua.ls Logo

Blitz DUPLEX S2 - Permissible Load Distribution

Default Icon
54 pages
Print Icon
To Next Page IconTo Next Page
To Next Page IconTo Next Page
To Previous Page IconTo Previous Page
To Previous Page IconTo Previous Page
Loading...
3. The lift
5
117127 07/2011
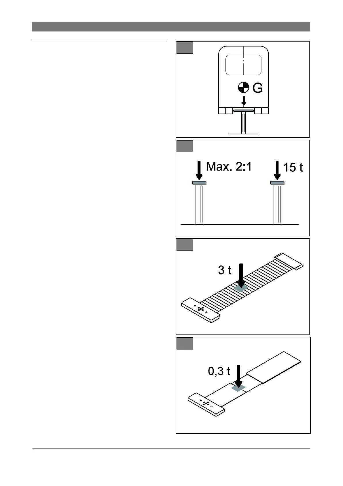
3.1 Permissible load distribution
Illustration 2: Vehicle center of gravity
The overall center of gravity of the vehicle must
be centered above the hydraulic cylinder.
Illustration 3: Nominal load per lifting cylinder
Maximum 15 t, minimum 0.8 t
Load distribution in or against driving direction:
maximum 2:1
Minimum distance between lifting cylinders in
driving direction 1.5 m
Illustration 4: Flexcover
Permissible traversing load maximum 3 t per wheel
Illustration 5: Metal cover
Permissible traversing load maximum 0.3 t per
wheel
2
3
4
5

Table of Contents

Related product manuals