EasyManua.ls Logo

Blitz DUPLEX S2 - Workplace, Danger Zones

Default Icon
54 pages
Print Icon
To Next Page IconTo Next Page
To Next Page IconTo Next Page
To Previous Page IconTo Previous Page
To Previous Page IconTo Previous Page
Loading...
3. The lift
6
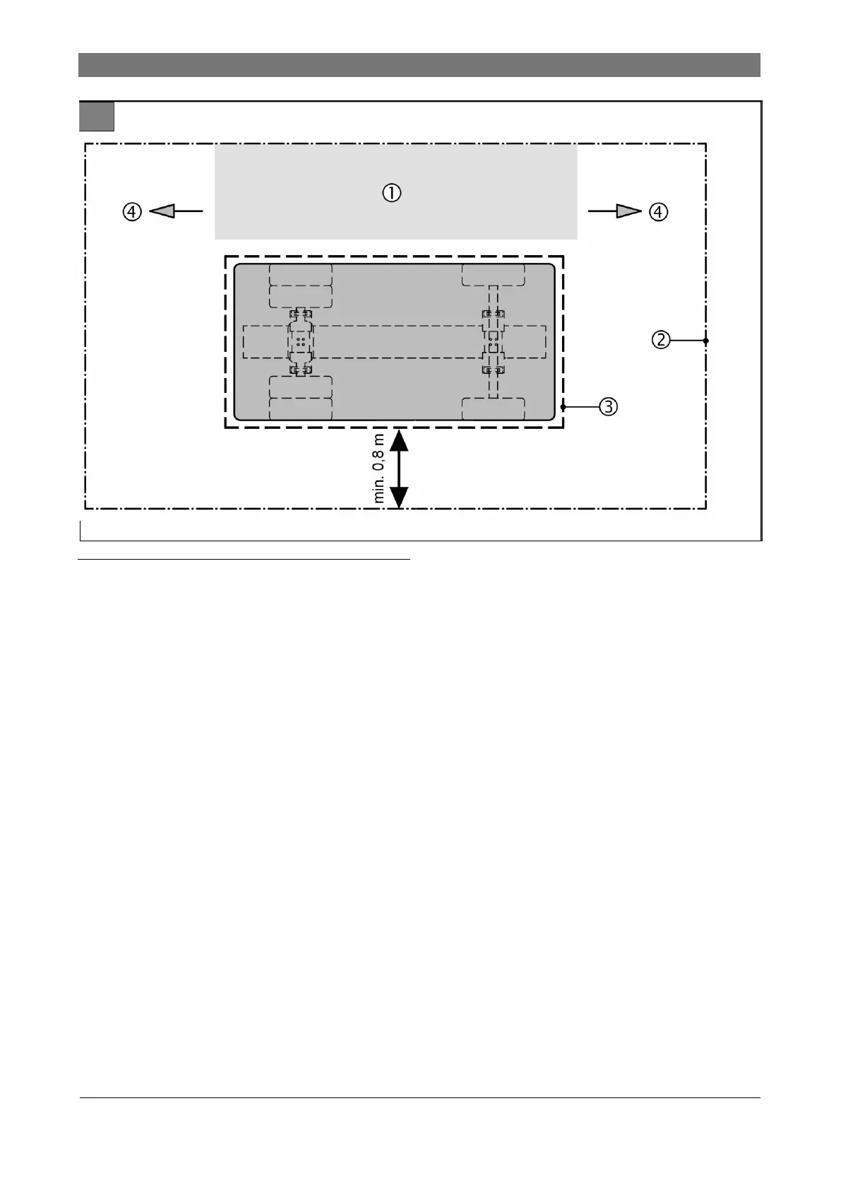
3.2 Workplace, danger zones
Illustration 6: Work and danger zones
1 Operating position
2 Working area
3 Danger zone
4 Escape route
6

Table of Contents

Related product manuals