EasyManua.ls Logo

BONAIRE B019RT - Condenser Installation and Tubing Setup

BONAIRE B019RT
32 pages
Print Icon
To Next Page IconTo Next Page
To Next Page IconTo Next Page
To Previous Page IconTo Previous Page
To Previous Page IconTo Previous Page
Loading...
DUCTED REVERSE CYCLE REFRIGERATED AIR CONDITIONING
Page 14
Unit Installation
CONDENSER INSTALLATION
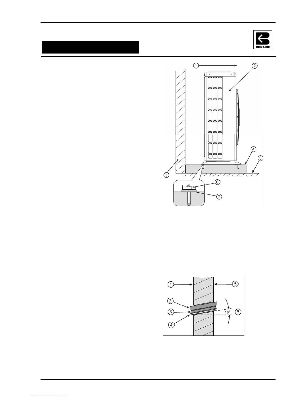
Installation on flat surface (roof, ground, etc)
Install outdoor unit support in a position elevated at
least 100 mm on a concrete pad, concrete block or
wooden beams, in order to allow free water flow
underneath.
1. Outside the building
2. Outdoor Unit
3. Floor
4. Concrete slab or equivalent
5. Wall
6. Anchor bolts
7. Serrated Rubber / Waffle Pad 40x80 mm
INTERCONNECTING TUBING
The tubing between the indoor and outdoor units consist of two copper tubes and an electric cable
routed through a 60-mm wall opening. In addition, a drainage hose is installed between the indoor
unit and the closest drainage point. Connect both sections, taking the shortest, most direct route.
1. Outside wall
2. Gas (Vapor) Line
3. Liquid Line
4. Electric Cable
5. Inside wall
6. Incline Angle

Related product manuals