EasyManua.ls Logo

Bonnet OPTIMUM 700 - Page 64

Default Icon
70 pages
Print Icon
To Next Page IconTo Next Page
To Next Page IconTo Next Page
To Previous Page IconTo Previous Page
To Previous Page IconTo Previous Page
Loading...
Page
63
3BE390580NI – 07/07
BONNET CIDELCEM GRANDE CUISINE
Siége social:
Rue des Frères Lumière - Z.I Mitry Compans
77292 MITRY MORY Cedex
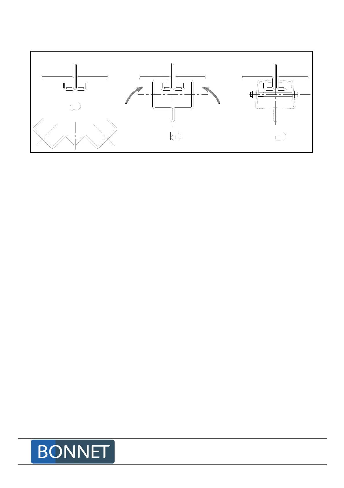
- Fix the appliances between themselves with a clamp behind the front legs:
a) Place the clamp to the folded sides
b) Lock by hand.
c) Complete tightening with the HM5 x 60 bolt.
Left
appliance
Right
appliance

Other manuals for Bonnet OPTIMUM 700

Related product manuals