EasyManua.ls Logo

Bosch CM8S - Page 139

Bosch CM8S
148 pages
To Next Page IconTo Next Page
To Next Page IconTo Next Page
To Previous Page IconTo Previous Page
To Previous Page IconTo Previous Page
Loading...
139
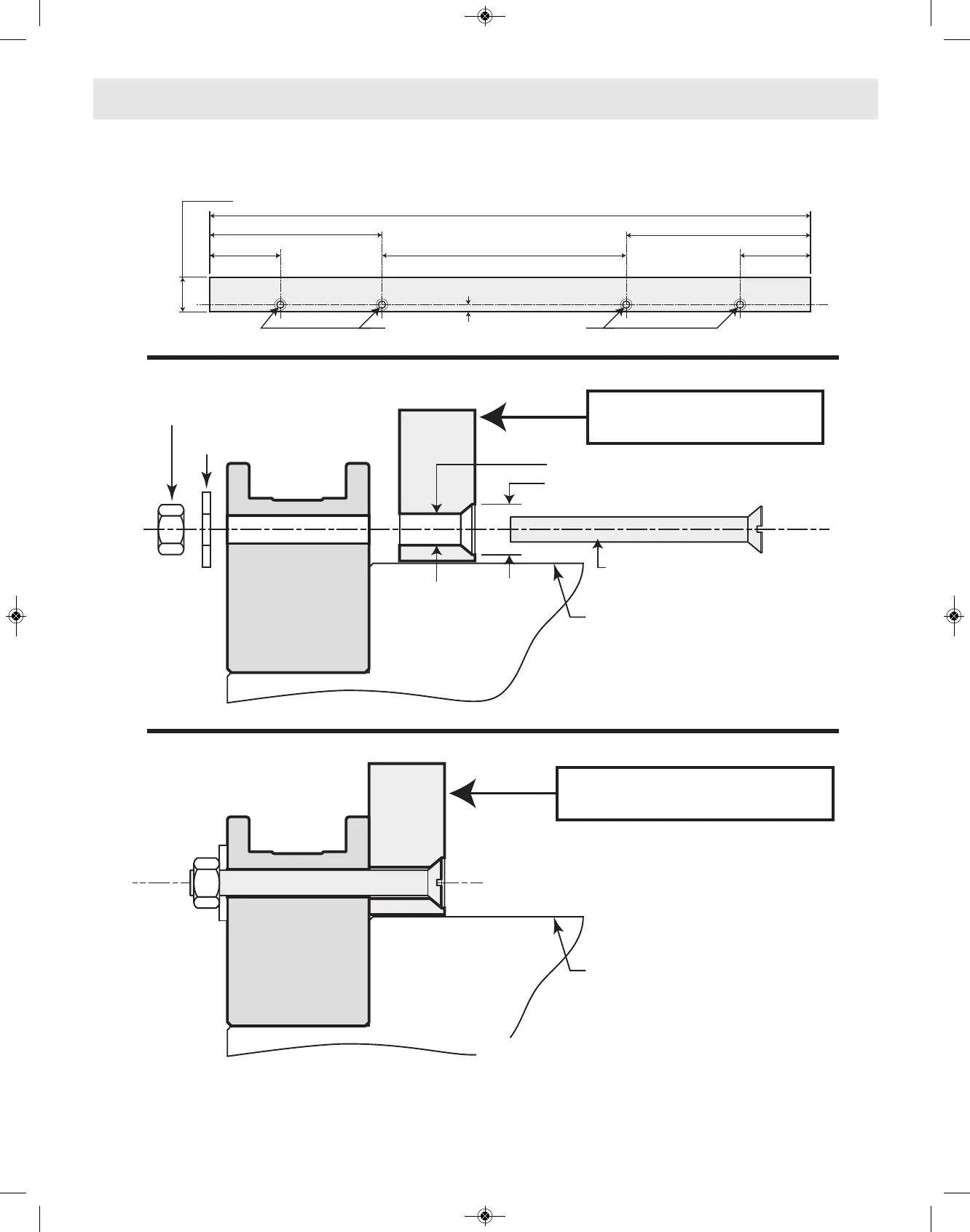
10-19/32"
3-1/16"
7
-15/32"
8"
LONGITUD TOTAL = 26-1/16 PULG.
3-1/16"
ALTURA TOTAL = 1-1/2 PULG.
T
aladre 4 agujeros = 5/16 de pulg. de diám.
5/16"
Tope-guía auxiliar nuevo
(ensamblado en la sierra para cortar ingletes)
Nota: El tope-guía estacionario está instalado
permanentemente en la base de la sierra (no lo retire)
Tope-guía
estacionario
Agujero pasante de 5/16 de pulgada
Avellanado 1/2 pulg.
Tornillo para metales de cabeza plana
de 1/4 de pulg. x 2-1/2 pulg. de longitud
(se necesitan 4)
Arandela plana (se necesitan 4)
Tuerca (se necesitan 4)
Parte superior
de la base y la mesa
Base de la sierra
Tope-guía auxiliar nuevo
Tabla: 3/4 de pulg. de ancho x 1-1/2 pulg. de alto
Tope-guía
estacionario
Parte superior
de la base y la mesa
Base de la sierra
Operaciones de la sierra
2610051821.qxp_BM CM8S 9/19/18 2:56 PM Page 139

Related product manuals