EasyManua.ls Logo

Bosch CM8S - Page 44

Bosch CM8S
148 pages
Print Icon
To Next Page IconTo Next Page
To Next Page IconTo Next Page
To Previous Page IconTo Previous Page
To Previous Page IconTo Previous Page
Loading...
44
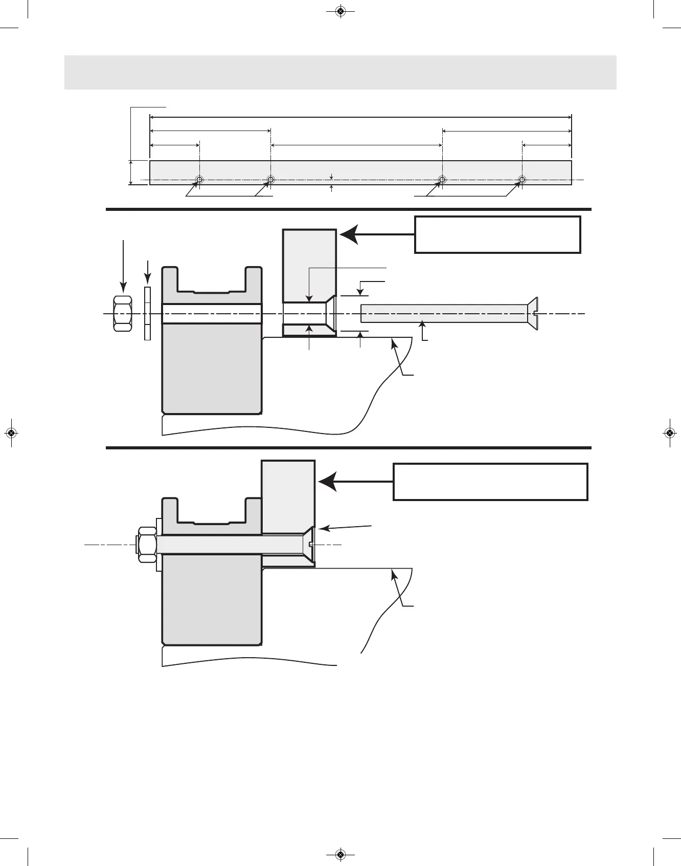
10-19/32"
2-3/4"
4-5/16"
5
-13/16"
OVERALL LENGTH = 17-1/4"
3/4"
OVERALL HEIGHT = 1-1/2"
Drill 4 Holes = 5/16" Diameter
3/8"
New Auxiliary Fence
(assembled to Miter Saw)
Stationary
Fence
Saw Base
Top of Base
and Table
Note: The Stationary Fence is permanently
attached to the Saw Base (do not remove)
Stationary
Fence
5/16" Hole Through
1/2" Countersink
1/4" Flat Head Machine Screw x 2-1/2" Long
(need 4)
Flat Washer (need 4)
Nut (need 4)
Top of Base
and Table
Saw Base
New Auxiliary Fence
Board: 3/4" Wide x 1-1/2" High
Note: Screw heads must be flush with or below
the crown molding auxiliary fence surface
Saw Operations
2610051821.qxp_BM CM8S 9/19/18 2:55 PM Page 44

Related product manuals