EasyManua.ls Logo

Brookfield DVE - Appendix G - Laboratory Stands With Parts Identification

Brookfield DVE
49 pages
Print Icon
To Next Page IconTo Next Page
To Next Page IconTo Next Page
To Previous Page IconTo Previous Page
To Previous Page IconTo Previous Page
Loading...
AMETEK Brookeld Page 44 Manual No. M15-356-B0916
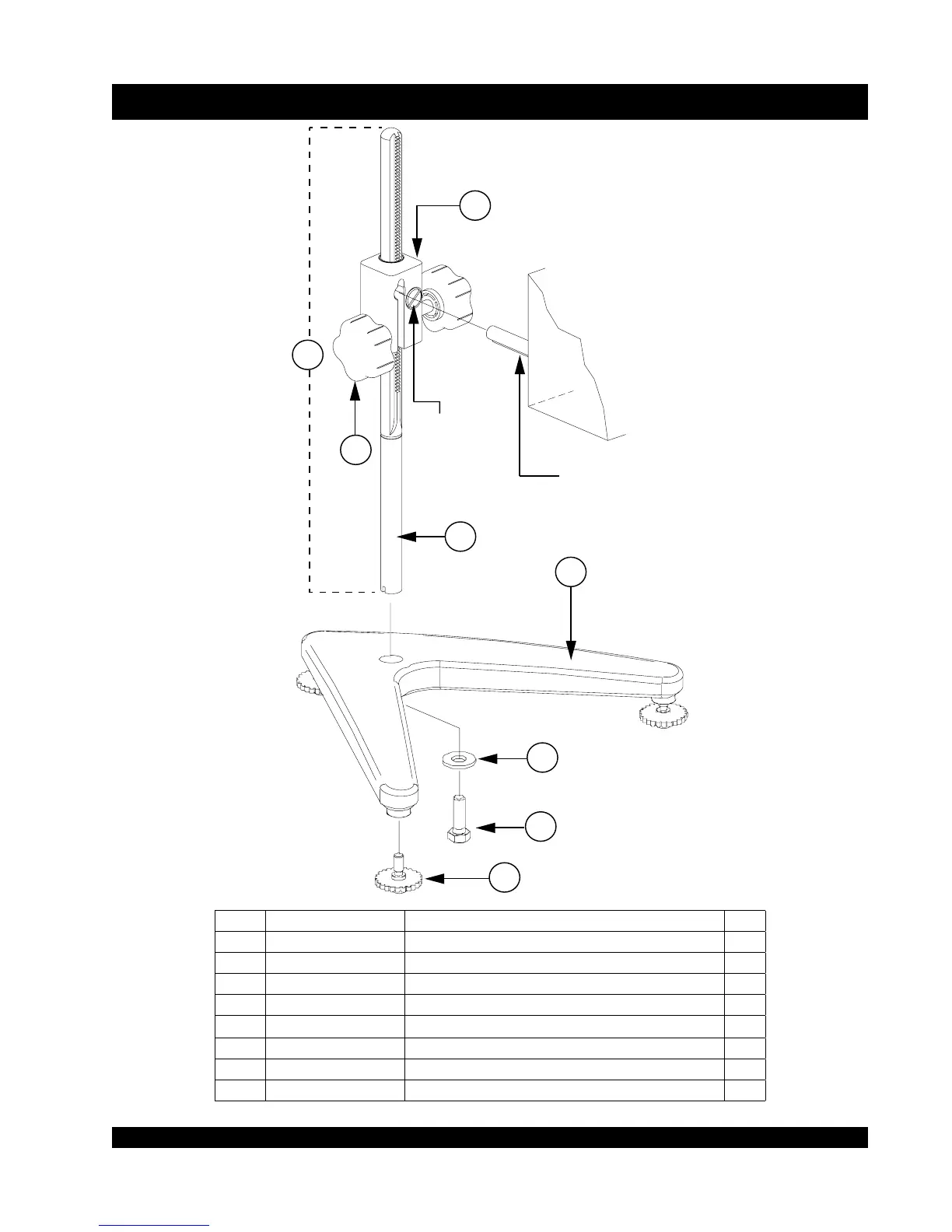
Appendix G - Laboratory Stand with Parts Identication
2
3
5
4
6
7
8
1
Viscometer
Mounting Rod
Tension Screw - for
adjusting movement
of the clamp on the
Lab Stand rod.
Item Part Number Description
Qty
1 VS-CRA-14S Rod and Clamp Assembly
† *
1
2 N/A Universal Lab Stand Clamp Assembly
1
3 N/A 14” Upright Rod
*
1
4 VS-41Y Knob Assembly
1
5 VS-1Y Base, Model A (includes 3 VS-3 leveling screws)
1
6 502028071S33B Flat washer 5/16 x 7/8 x .071"
1
7 50S311832S01B Screw, 5/16-18 x 1" lg. slotted head
1
8 VS-3 Leveling Screws, Model A, S and Q
3
* Optional 18" rod available N/A Not for individual purchase † Includes screw and washer (Items 6 and 7)

Related product manuals