EasyManua.ls Logo

Bryant 580D - Application Data

Bryant 580D
72 pages
Print Icon
To Next Page IconTo Next Page
To Next Page IconTo Next Page
To Previous Page IconTo Previous Page
To Previous Page IconTo Previous Page
Loading...
APPLICATION DATA (cont)
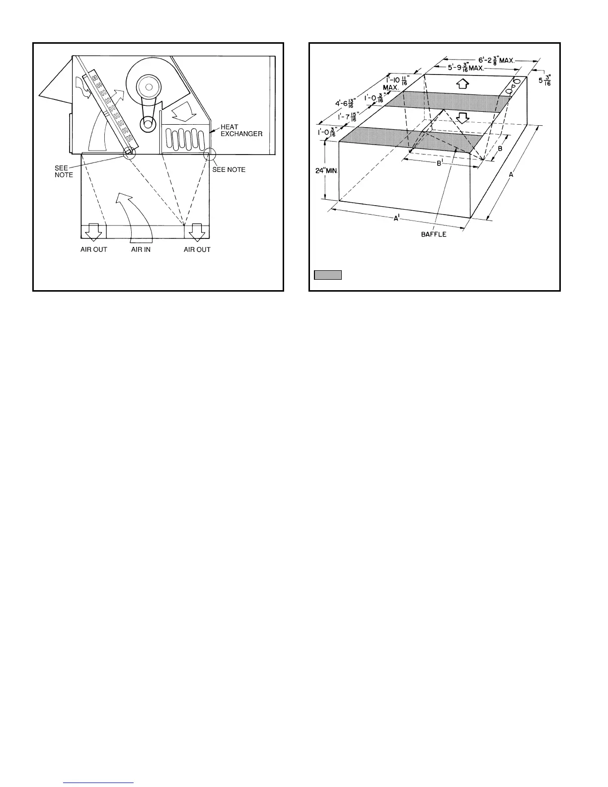
Concentric Duct Air Distribution
579F180-300 Only
NOTE: Do not drill in this area, damage to basepan may result in
water leak.
Concentric Duct Details
579F180-300 Only
NOTE: Dimensions A, A8 and B, B8 are obtained from field-supplied
ceiling diffuser.
indicates block-off panels.
66

Related product manuals