EasyManua.ls Logo

CAB PS5 - Page 13

Default Icon
21 pages
Print Icon
To Next Page IconTo Next Page
To Next Page IconTo Next Page
To Previous Page IconTo Previous Page
To Previous Page IconTo Previous Page
Loading...
134 Operation
15
P24
STA
GND
1 XSTART
9 RXSTART
13
12
Switch
Electronics Present Sensor
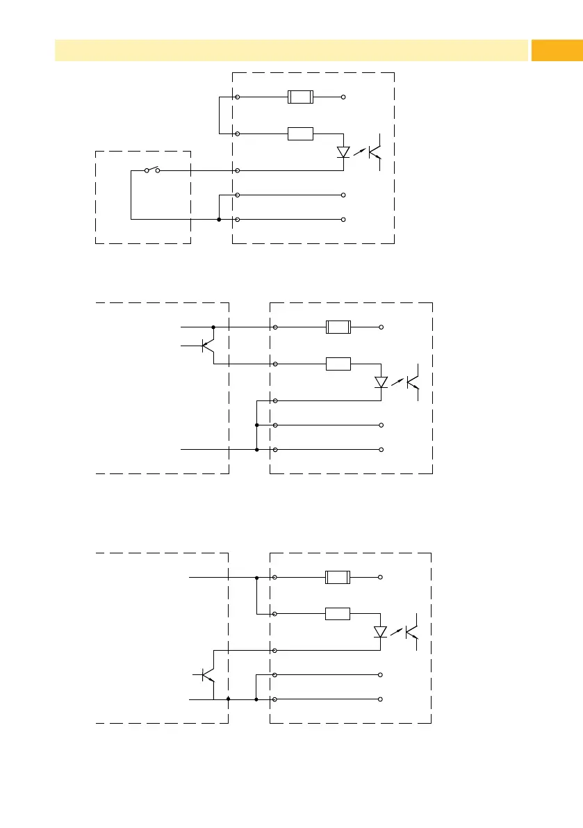
Figure 9 External circuit with hand or foot switch
15
P24
STA
GND
1 XSTART
9 RXSTART
13
12
Sensor with pnp output
Electronics Present Sensor
brown
white /
black*
blue
* depending on sensor model
Figure 10 External circuit with optical sensor (pnp output)
15
P24
STA
GND
1 XSTART
9 RXSTART
13
12
Sensor with npn output
Electronics Present Sensor
brown
white /
black*
blue
* depending on sensor model
Figure 11 External circuit with optical sensor (npn output)