EasyManua.ls Logo

Carlton SP4012 - SERVICING CUTTER WHEEL; Tooth Arrangement

Carlton SP4012
153 pages
Print Icon
To Next Page IconTo Next Page
To Next Page IconTo Next Page
To Previous Page IconTo Previous Page
To Previous Page IconTo Previous Page
Loading...
SP4012 SERVICING CUTTER WHEEL
53
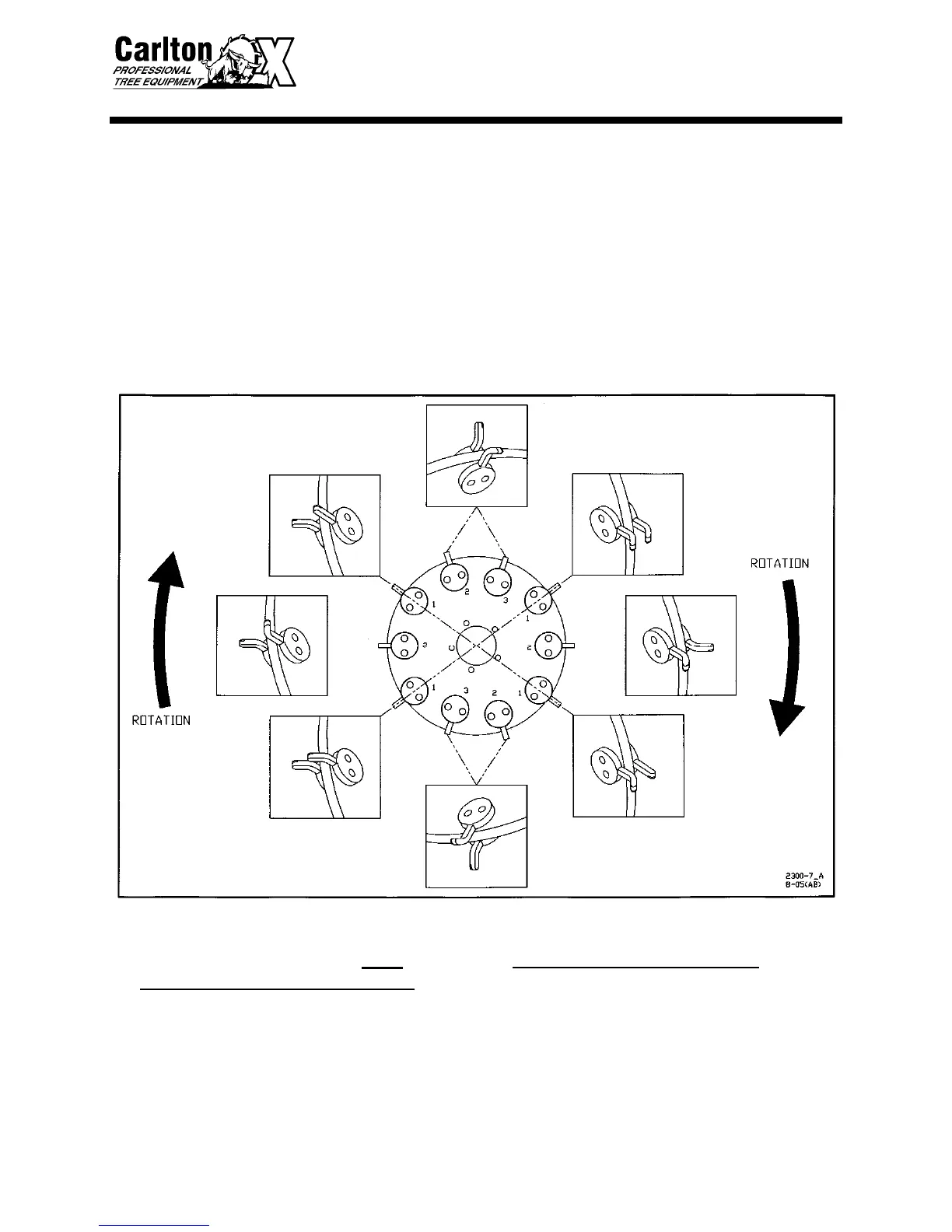
TOOTH ARRANGEMENT
Inspect pockets, teeth and bolts for damage
and replace as required.
When replacing pockets, always replace
new pockets across from each other in
order to prevent vibration.
Replacement teeth must be carbide tipped
and have like design as provided with the
machine.
Use anti-seize on threads to prevent bolts
from “freezing up” in cutter wheel.
When replacing complete set of teeth, be
sure to duplicate original factory tooth
arrangement.
Torque bolts to 150 ft/lbs.
opposing outside pockets carry like arrangements of teeth to cancel vibration
Straight teeth are mounted in TWO
OPPOSING OUTSIDE POCKETS. A
straight tooth must have a 45° tooth
accompanying it in the same pocket set.
The opposite pocket sets should have this
same combination of straight and 45° teeth,
except with positions reversed. Mounting
these teeth opposite each other on the cutter
wheel cancels damaging vibration.
Two Remaining Outside Pockets must have
45° teeth overlapping centerline of wheel
to make plunge cuts possible. Mount two
left 45° teeth opposite two right 45° teeth.
Inside pockets require 45° teeth mounted
away from the wheel.

Table of Contents

Related product manuals