EasyManua.ls Logo

CARVIN SL - Using Channel Inserts; Full Insert Functionality; Half Insert (Direct Out) Functionality

CARVIN SL
40 pages
Print Icon
To Next Page IconTo Next Page
To Next Page IconTo Next Page
To Previous Page IconTo Previous Page
To Previous Page IconTo Previous Page
Loading...
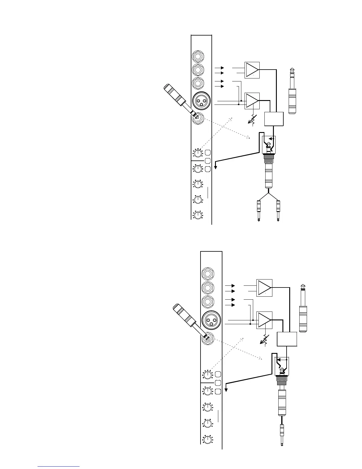
Half insert
(insert Direct out)
The half insert connection creates a send signal without break-
ing the channels signal path. The insert in this mode is no longer
used as an insert but it becomes what is called an “insert direct
out”. The advantage of an insert direct out is the signal at this
point has only traveled through one amplifier stage resulting
in the quietest and lowest distortion possible in the console.
This is popular when recording tracks in the studio because the
EQ and fader may not be needed and can be added in the mix-
down. If an insert is needed on the same channel, special cabling
is required to perform both functions. The half insertion con-
nects the tip of the plug being inserted to the ring of the jack.
(See the fig.) If the jack is fully inserted to where the tip of the
plug connects to the tip of the jack, the internal jack switch will
open and the channel’s signal path will be broken. The con-
nection will still function as a direct out but the channel’s signal
will stop at the insert and not continue on to the rest of the chan-
nel and the masters. The result of the half insert is multiple out-
puts for use in multi-track recording.
Full insert
The insert jack is a Tip/Ring/Sleeve (TRS) 1/4” phone jack
where the tip is the send, the ring is the return and the sleeve
is the ground. When used as an insert point or in full insert
mode, the channel is opened up to allow an external piece
of equipment to be inserted into the channels signal path.
The channel signal coming from the TAPE switch, whether
it is the MIC (up position) or the TAPE IN (down position),
will be forced to go through the external equipment before
it can continue back through the channel. The signal “re-
enters” before the low cut filter and continuing on to the chan-
nel EQ controls. Most external equipment is not set up for
the TRS plug directly, so a special insert cable is required.
The insert cable will have on one end the TRS (stereo) plug
and two mono (TS) plugs (or jacks) on the other end. The
two plugs each have the ground connected to the sleeve. One
has the return on its tip and the other has the send on its tip.
This allows the send to be connected to the input of the exter-
nal equipment and the return to its output completing the insert
loop back to the channel. One advantage of using the insert
jack is with compressors. With a compressor at this point
in the channel signal path, the input signal can be compressed
reducing the need to adjust the faders during a show.
MIC Pre-Amp
PIN 2 (+)
PIN 3 (–)
GAIN
FULL INSERT
SEND
TO EFFECTS
STEREO PLUG
INSERT JACK
RETURN
TIP: SEND SIGNAL
SLEEVE: GROUND
RING: RETURN SIGNAL
TAPE
IN
MIC
LINE
IN
DIRECT
OUT
INSERT
15
-
15
0
+
15
1K
225
4K
800
2K
455
-
15
0
+
15
-
15
0
+
15
PHASE
HIGH
FREQ
HI
MID
LOW
MID
GAIN
TAPE
LOW
CUT
PAN
TIP
RING
TIP
RING
TAPE Pre-Amp
TAPE
SWITCH
MONO PLUG
INSERT JACK
TO RECORDER
TIP: SIGNAL
SLEEVE: GROU
N
MIC Pre-Amp
PIN 2 (+)
PIN 3 (–)
GAIN
HALF INSERT
TAPE
IN
MIC
LINE
IN
DIRECT
OUT
INSERT
15
-
15
0
+
15
1K
225
4K
800
2K
455
-
15
0
+
15
-
15
0
+
15
PHASE
HIGH
FREQ
HI
MID
LOW
MID
GAIN
TAPE
LOW
CUT
PAN
TIP
RING
TIP
RING
TAPE Pre-Amp
TAPE
SWITCH
7. Using the inserts
22

Related product manuals