EasyManua.ls Logo

CENTURION SYSTEMS D3 - Page 28

CENTURION SYSTEMS D3
36 pages
Print Icon
To Next Page IconTo Next Page
To Next Page IconTo Next Page
To Previous Page IconTo Previous Page
To Previous Page IconTo Previous Page
Loading...
26
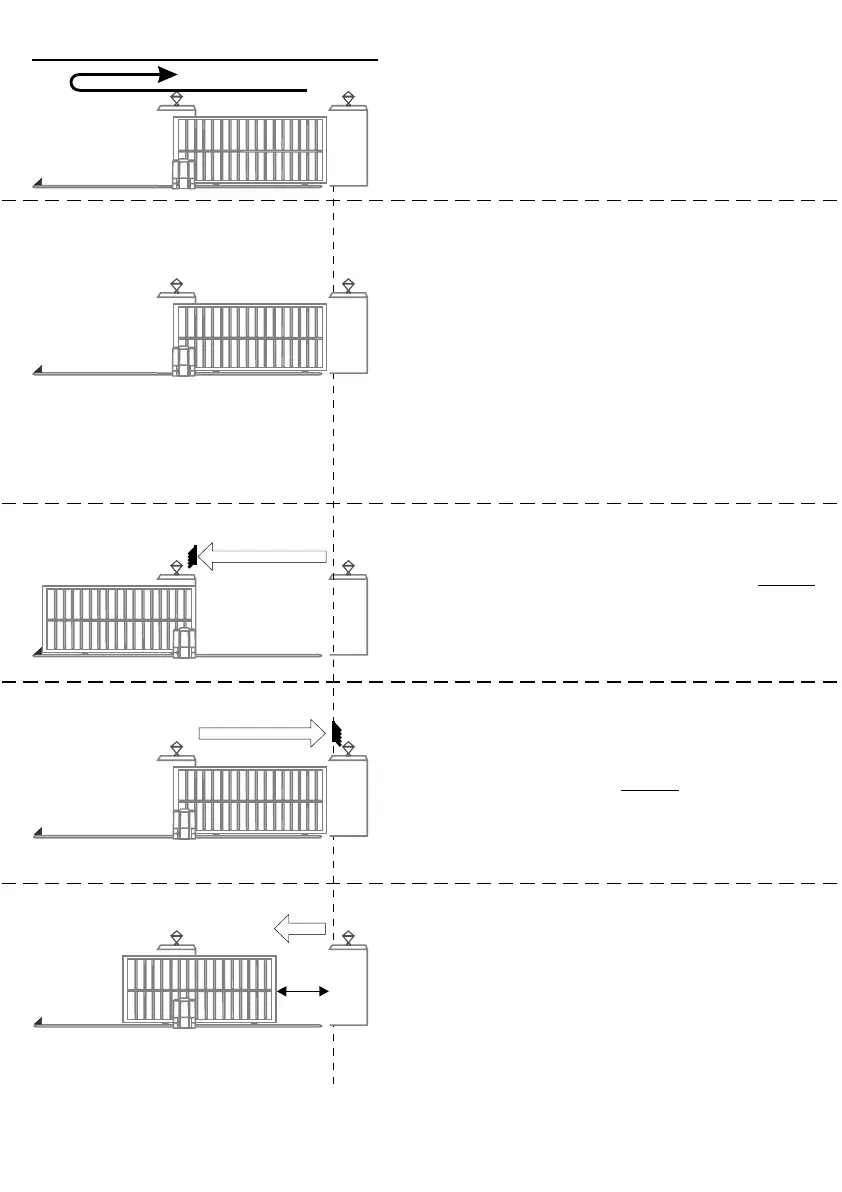
- Start with gate fully closed.
- Push gate open (origin marker must have
moved well past origin switch).
- Push gate closed again.
STEP 2 - ENSURE PCB IS IN PROGRAMME
MODE (refer procedure page 21)
STEP 4
- Push gate to fully “OPEN” position and do not
allow gate to reverse.
- Press TEST pushbutton until STATUS LED
comes ON and release.
STEP 1 ALIGN ORIGIN SWITCH
STEP 5
- Push gate to fully “CLOSED” position hard
up against endstop and do not allow gate
to reverse.
- Press TEST pushbutton until STATUS LED
comes ON and release.
STEP 3 - SET LIMITS
- Press TEST pushbutton until LED L1 flashes
once and release.
- L1 will continue to flash once and L2 will
go out.
- Press TEST pushbutton until STATUS LED
comes ON and release (check that L1, L2 &
STATUS are OFF)
STEP 6
- Push gate to “PEDESTRIAN” open position.
- Press TEST pushbutton until STATUS LED
comes ON and release. If STATUS LED
does not come ON, increase pedestrian
opening until it does.
A5 MOTOR MANUAL SET-UP
“PED”

Related product manuals