EasyManua.ls Logo

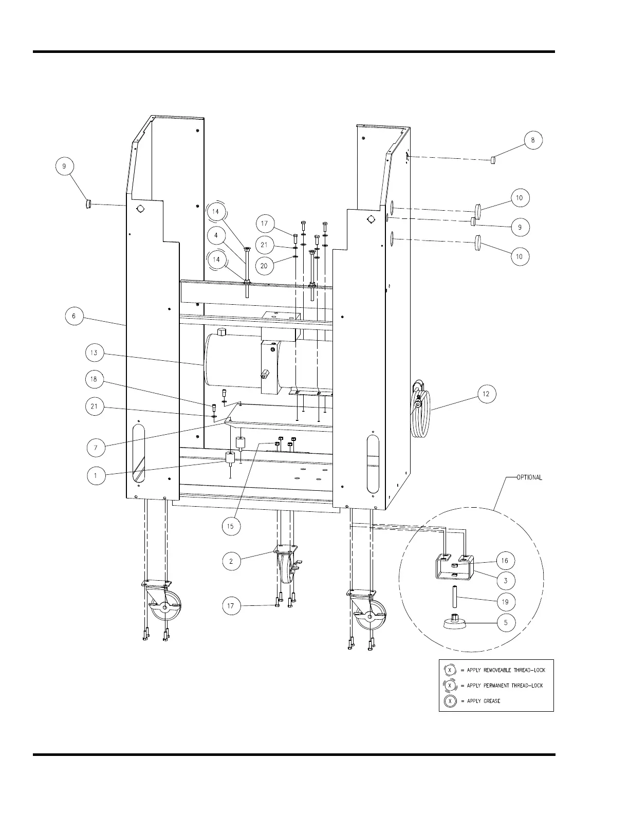
Challenge TITAN 200BC - 70000 Main Assembly - Stand Schematic

Challenge TITAN 200BC
70 pages
Print Icon
To Next Page IconTo Next Page
To Next Page IconTo Next Page
To Previous Page IconTo Previous Page
To Previous Page IconTo Previous Page
Loading...
4.0 Schematics & Parts Lists
32
4.6 70000 Main Assembly Stand

Other manuals for Challenge TITAN 200BC

Related product manuals