EasyManua.ls Logo

Cisco ASR 1004 - Page 77

Cisco ASR 1004
120 pages
To Next Page IconTo Next Page
To Next Page IconTo Next Page
To Previous Page IconTo Previous Page
To Previous Page IconTo Previous Page
Loading...
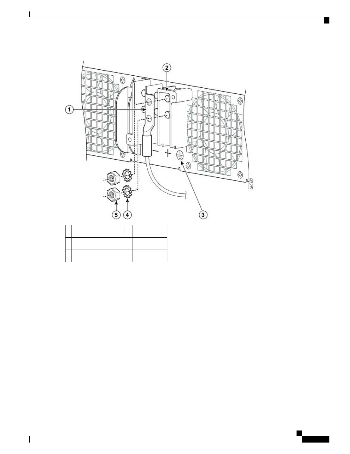
Figure 50: Cisco ASR 1004 Router DC Power Supply Terminal Block Lead Wire Connection
Flat washer4Ground stud and wire1
Kepnut screw5Ground lug nut2
Ground symbol3
Step 5 Locate the power supply ground stud (see xref fig). Remove the ground (GND) cable from the DC power supply.
Step 6 Loosen and remove the Kepnut screw, washer, and ground lug in that order.
When installing the unit, the ground connection must always be made first and disconnected last.
Warning
Step 7 Loosen the captive screws on the DC power supply.
Four power supplies must be installed in the chassis at all times, with a minimum of two power supplies (one
per zone) connected to the mains in order to power on the system and ensure sufficient cooling. The system
fans are inside the power supply units and must spin for cooling. Because all the system fans can be powered
by one power supply, the second power supply unit does not have to be powered on, but must be connected.
Note
If you remove a power supply from a system that has four power supplies that are connected and powered on,
the system can run only for a maximum of five minutes before shutting down. However, because the fans and
power elements are independent within the power supply, the replacement power supply does not have to be
energized within five minutes. The only requirement is that the power supply be installed in the chassis in order
to energize the fans and maintain proper system cooling.
Caution
Step 8 Grasping the power supply handles, pull the power supply from the chassis.
Removing and Replacing FRUs from the Cisco ASR 1000 Series Routers
77
Removing and Replacing FRUs from the Cisco ASR 1000 Series Routers
Removing the DC Power Supply from the Cisco ASR 1004 Router

Other manuals for Cisco ASR 1004

Related product manuals