EasyManua.ls Logo

Comar Systems CSA-300 - Dash Mount Bracket Fixing Holes (Drill Drawing) (Not to Scale); GPS Antenna Drawing (Not to Scale)

Comar Systems CSA-300
77 pages
Print Icon
To Next Page IconTo Next Page
To Next Page IconTo Next Page
To Previous Page IconTo Previous Page
To Previous Page IconTo Previous Page
Loading...
Drawings
Page 71
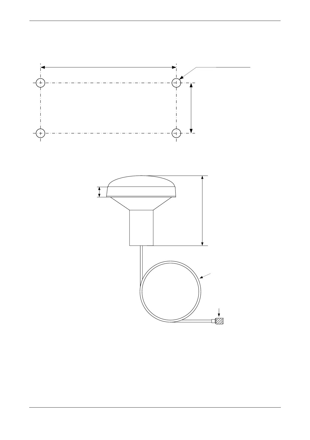
7.3 Dash mount bracket fixing holes (drill drawing) (not to scale)
7.4 GPS antenna drawing (not to scale)
120.0mm
40.0mm
Drill for screw size No. 8 (4-PL)
Tap drill size No. 29 (3mm drill is sufficient)
108mm
21.3mm
10m RG58 cable
TNC (male)

Table of Contents

Related product manuals