EasyManua.ls Logo

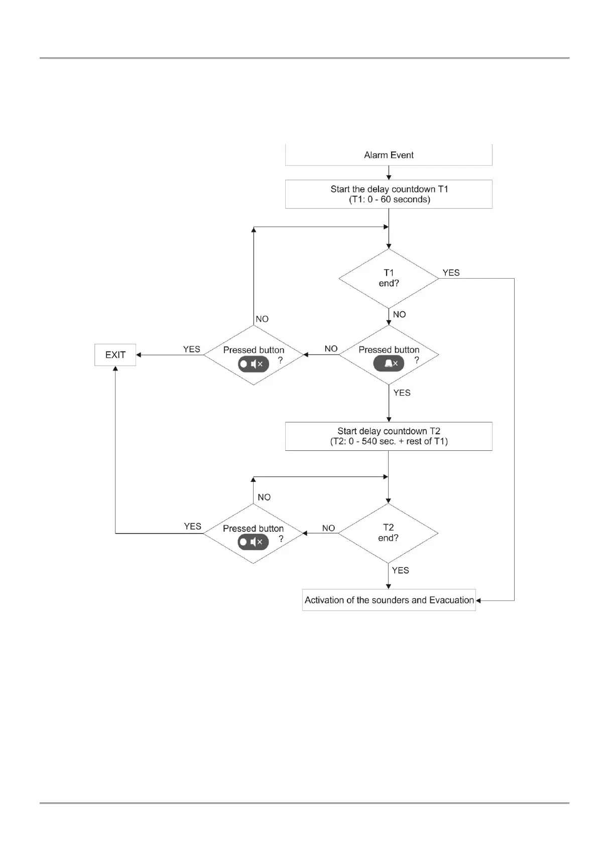
Comelit 41CPE012 - APPENDIX D; Two steps of alarming Algorithm.

Comelit 41CPE012
56 pages
Print Icon
To Next Page IconTo Next Page
To Next Page IconTo Next Page
To Previous Page IconTo Previous Page
To Previous Page IconTo Previous Page
Loading...
Atena Easy Addressable Fire Alarm Panel Installation and Programming Manual
53
APPENDIX D
Two steps of alarming Algorithm.

Table of Contents

Related product manuals