EasyManua.ls Logo

Cooper CF1100 - Page 36

Cooper CF1100
117 pages
Print Icon
To Next Page IconTo Next Page
To Next Page IconTo Next Page
To Previous Page IconTo Previous Page
To Previous Page IconTo Previous Page
Loading...
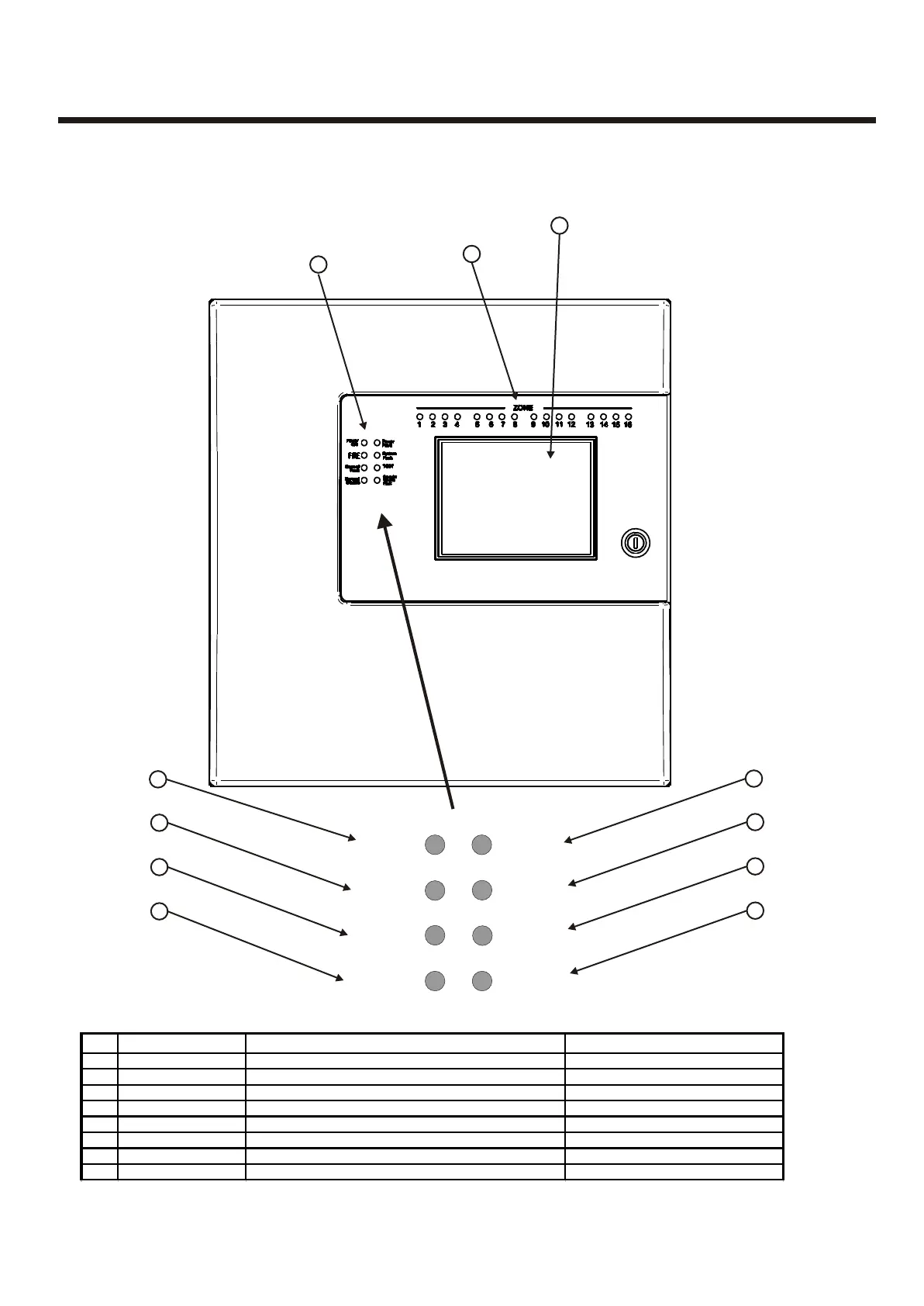
1. System LED’s
2. Zonal LED’s
3. Touch Screen Display
1. System LED’s
2. Zonal LED’s
3. Touch Screen Display
Panel Controls & IndicatorsPanel Controls & Indicators
11
22
33
44
55
66
77
88
LED Name Function Action
1 Power On Shows Panel is On Check Indic ator is Illuminated
2 Fire Indicators Panel has Det ected a Fi re Impliment F ire Act ion Procedure
3 General Fault Monitors Devices for Faults e.g. S moke detec tors/ Sounders Report to Sy stem S upervisor
4 General Disable Monitors Fire Panel for Fault s Report Fault t o Service Dept
5 Power Fault Monitor Internal B attery Charger Report Fault t o Service Dept
6 Sys tem Fault Monitors Fire Panel for Fault s Report Fault t o Service Dept
7 Tes t Supervisor/Engineer i s Testing t he Sys tems Report to Sy stem S upervisor
8 Sounder Indicates the Sounder St atus Check wit h Sys tem Supervisor
33
22
11
General
Fault
FIRE
TEST
General
Disable
Sounder
Disable
Fault
Power
ON
System
Fault
Power
Fault
36

Related product manuals