EasyManua.ls Logo

Cromtech Outback CTG2500i - Smart-Throttle (Eco-Mode) Operation; Eco-Mode ON Function; Eco-Mode OFF Function; Eco-Mode Usage for High-Current Devices

Cromtech Outback CTG2500i
36 pages
Print Icon
To Next Page IconTo Next Page
To Next Page IconTo Next Page
To Previous Page IconTo Previous Page
To Previous Page IconTo Previous Page
Loading...
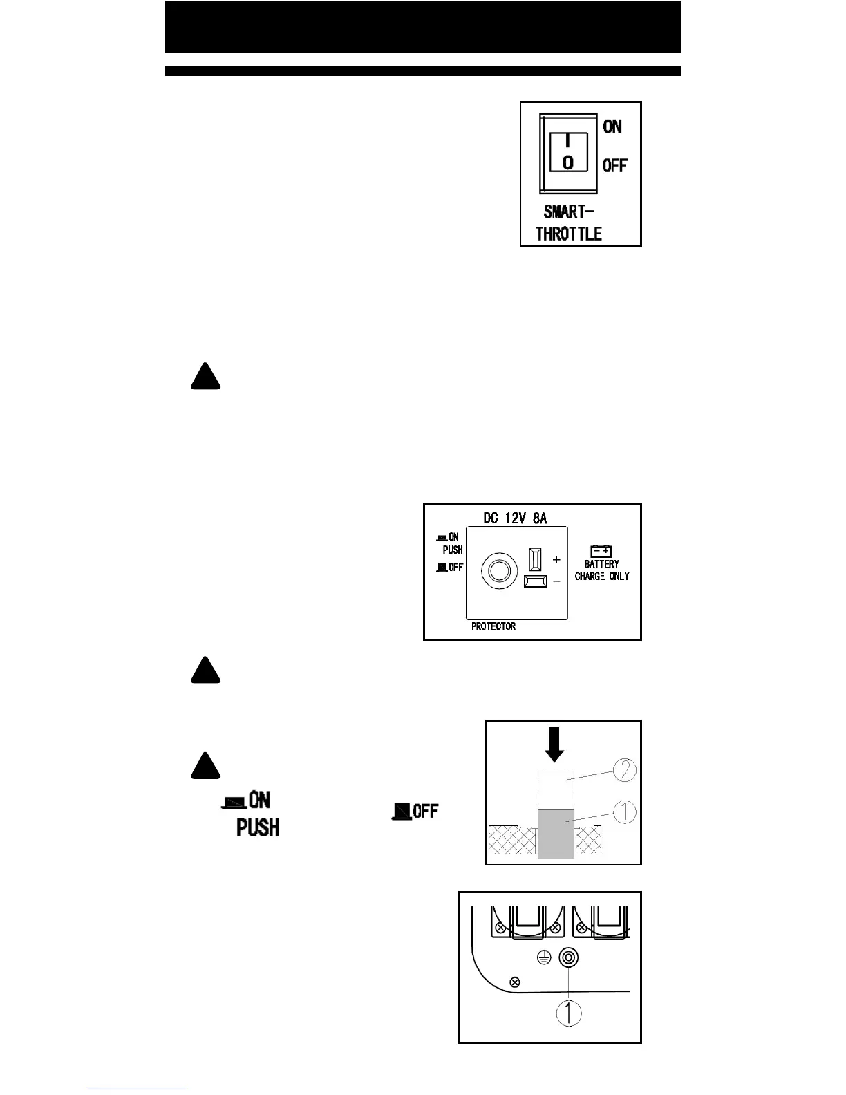
SMART-THROTTLE SWITCH (ECO-MODE)
ON - When smart-throle switch is in
ON posion, the economic control mode
will automacally adjust the engine speed
according to the connected load, so as
to achieve low fuel consumpon and low
noise.
OFF - When smart-throle switch is in the OFF posion,
the engine will run at rated speed (5000rpm), regardless of
load.
!
NOTE: Smart-throle switch must be in OFF posion,
when applying to electric devices that require a large
starng current, such as air condioner, air compressor,
submersible pump, or high-power DC equipment.
DC PROTECTOR
The DC protector turns o
automacally when DC load
exceeds the rated output of
generator or with a reverse
connecon on +/- .
!
NOTE: If DC protector turns o, reduce the load to
generator (to below the specied rated output). If it turns
o again, consult your local dealer.
!
NOTE: Press to reset DC protector.
RESET
GROUND (EARTH) BOLT/NUT
TERMINAL
Make sure ground (earth) terminal
of generator is connected to avoid
electric shock. When electric
device is applied, generator should
connect with earth ground.
① Ground (earth) terminal
Pg. 13