EasyManua.ls Logo

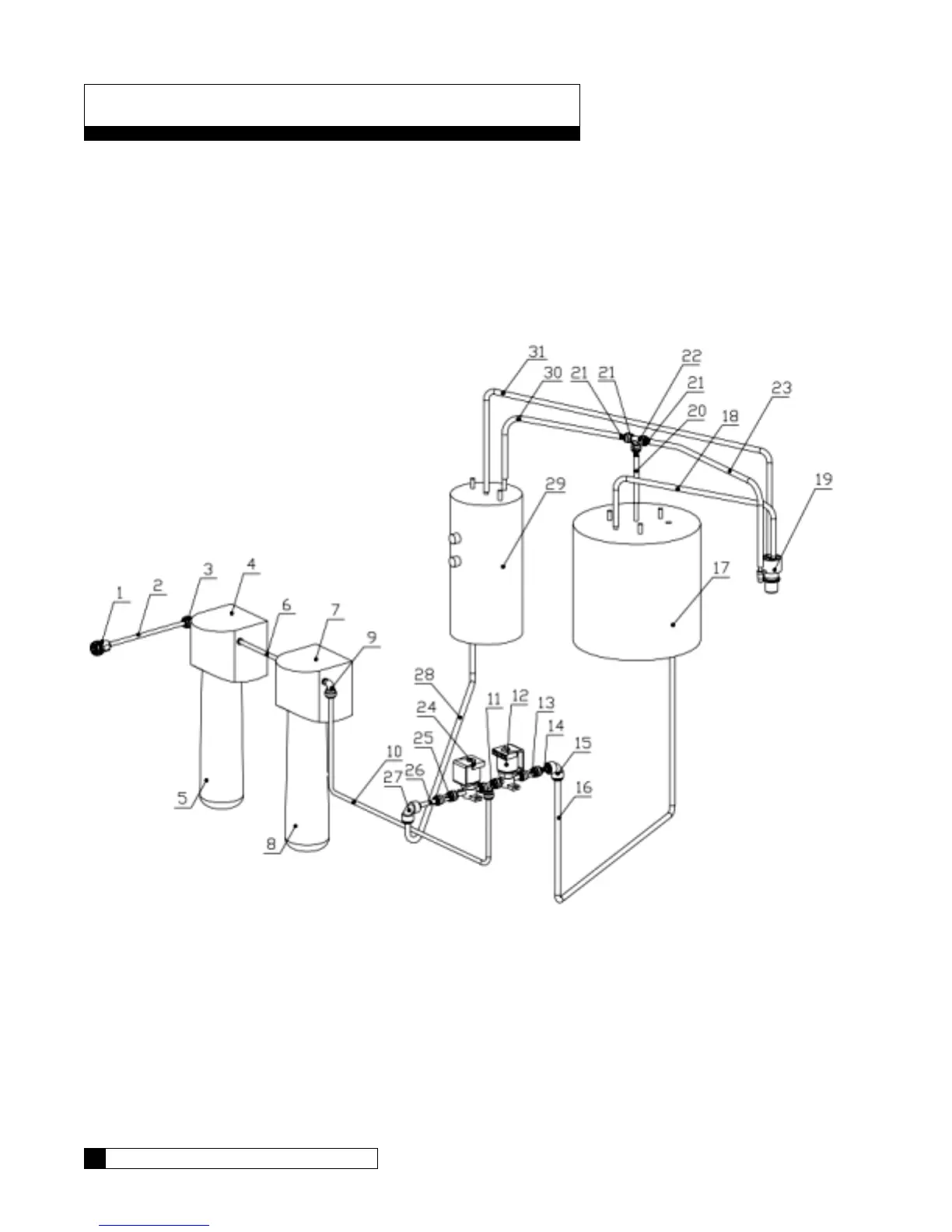
Culligan D1021870 - All Purpose Cooler Wetted Parts Illustration

Culligan D1021870
35 pages
Print Icon
To Next Page IconTo Next Page
To Next Page IconTo Next Page
To Previous Page IconTo Previous Page
To Previous Page IconTo Previous Page
Loading...
26 Culligan® All Purpose Cooler
26 Cat. No. 01023621
Hot and Cold
Figure 5. Wetted parts diagram
All Purpose Wetted Parts Illustration

Related product manuals