EasyManua.ls Logo

Daewoo D1146 - Page 79

Daewoo D1146
147 pages
Print Icon
To Next Page IconTo Next Page
To Next Page IconTo Next Page
To Previous Page IconTo Previous Page
To Previous Page IconTo Previous Page
Loading...
D1146/D1146TI/DE08TIS
MAINTENANCE MANUAL
75
Printed in Jan. 2001 PS-MMA0415-E1A
specified torque.
Torque 18 kg.m
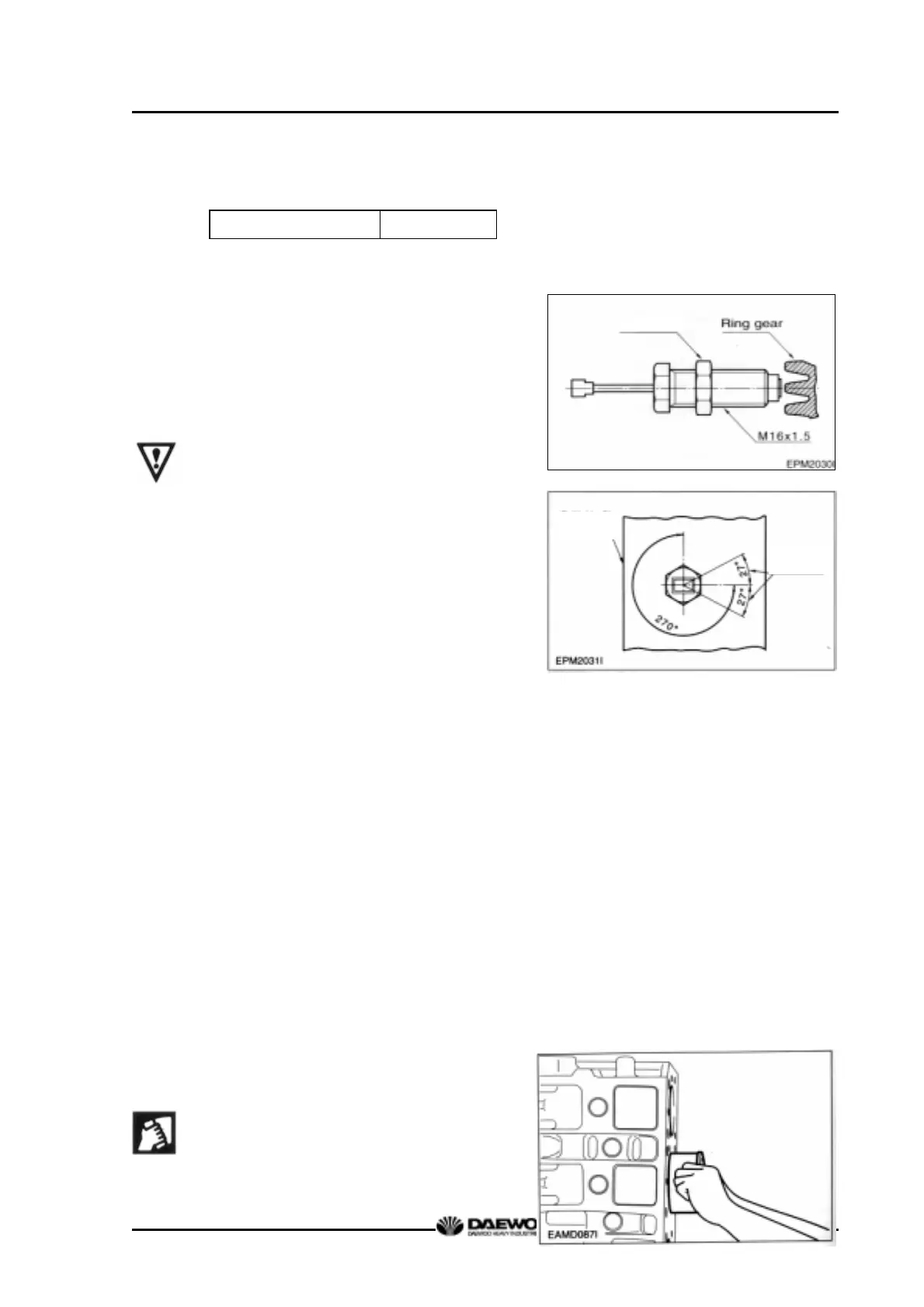
3.3.9. Magnetic pick-up sensor
z Move the lock nut to hexagonal side of
sensor completely.
z Rotate (Clockwise) the pick-up sensor on
fly wheel housing, until the end of it reach
on fly wheel ring gear.
z Then rotate (Counter clockwise) the
pick-up sensor for 270° (gap 1.0 mm)
and fix lock nut.
z Tolerance limit is 27°. (gap ± 0.1 mm)
3.3.10. Water chamber cover
z Coat the adhesive over the water
chamber cover (Particular around bolt
holes) and after attaching the gasket,
assemble it to the cylinder block using
the bolts for assembling.
z As for tightening of bolts, after primarily
tightening the bolts located at the both
ends of cover (4ea at both sides) and
middle bolts (Upper, lower 2ea) , tighten
the rest.
3.3.11. Cylinder liner
z Stand the cylinder block so that the
flywheel faces downward.
z Thoroughly clean the liner flange
fitting
surface and bore inside with
Flywheel
housin
g
Tolerance
limit
Lock nu
t

Related product manuals