EasyManua.ls Logo

Daikin ERQ - Back View

Daikin ERQ
260 pages
Print Icon
To Next Page IconTo Next Page
To Next Page IconTo Next Page
To Previous Page IconTo Previous Page
To Previous Page IconTo Previous Page
Loading...
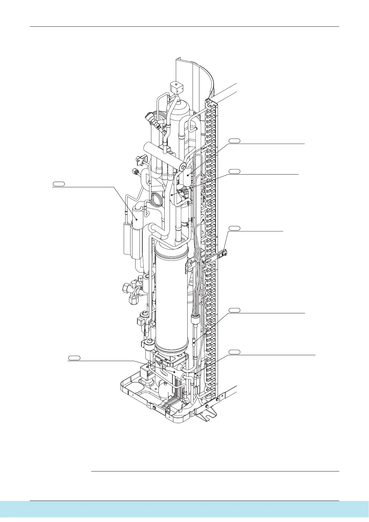
ESIE09-05 Functional Parts Layout
Refrigerant Circuit 19
Back view
R5T
THERMISTOR (SUCTION 2)
(MARKING COLOR : GREEN)
R7T
THERMISTOR (LIQUID PIPE 1)
(MARKING COLOR : BLUE)
R3T THERMISTOR (SUCTION 1)
(MARKING COLOR : RED)
R1T THERMISTOR (AIR)
(MARKING COLOR : YELLOW)
R8T THERMISTOR (LIQUID PIPE 2)
(CONNECTOR COLOR : WHITE)
R4T THERMISTOR (HEAT EXCHANGER)
(CONNECTOR COLOR : BLUE)
R6T THERMISTOR (SUBCOOLING)
(MARKING COLOR : WHITE)
Все каталоги и инструкции здесь: http://splitoff.ru/tehn-doc.html

Table of Contents

Related product manuals