EasyManua.ls Logo

Daitsu FMCD-04 - Mounting Plate Installation; Condensate Drainage Hole Drilling

Daitsu FMCD-04
60 pages
Print Icon
To Next Page IconTo Next Page
To Next Page IconTo Next Page
To Previous Page IconTo Previous Page
To Previous Page IconTo Previous Page
Loading...
Page 20 of 59
Page 20 of 58
SK2019 FMCD-V-ECM-001
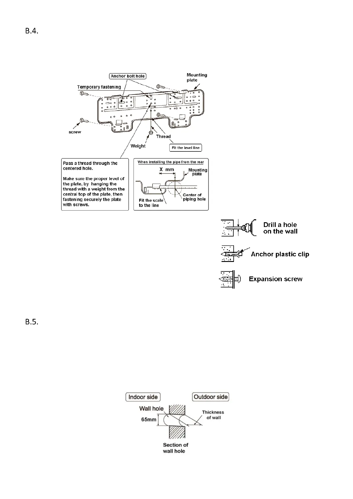
Mounting Plate Installation
1. Select the structural position (e.g. a pillar or lintel) on the wall.
2. Then temporarily fasten the mounting plate on the wall with a steel nail.
3. Mount the mounting plate horizontally as shown in the
above figure or by means of gradiometer. Failed to follow
this may cause water to drip indoors and create atypical
noise.
4. Fix the mounting plate by means of expansion screws or
tapping screws.
Condensate Drainage Hole Drilling
1. Ensure that the hole for condensate drainage is correctly positioned. The height should be lower than the
bottom edge of the indoor unit.
2. Drill a 65mm diameter hole with a descending slope.
3. Seal it off with putty after installation.

Table of Contents

Related product manuals