EasyManua.ls Logo

Datalogic DS5100 - Page 65

Datalogic DS5100
164 pages
Print Icon
To Next Page IconTo Next Page
To Next Page IconTo Next Page
To Previous Page IconTo Previous Page
To Previous Page IconTo Previous Page
Loading...
MECHANICAL INSTALLATION
49
3
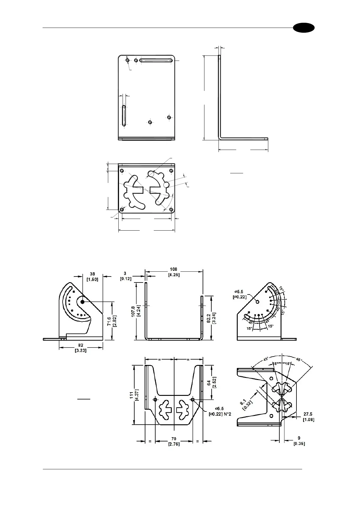
Figure 21 L Shape Mounting Bracket Overall Dimensions
Figure 22 U Shape Mounting Bracket Overall Dimensions
55
[2.17]
10
[0.39]
=
70
[2.76]
=
80
[3.15]
Ø4.2
[Ø0.17] N°4
Ø4.2
[Ø0.17] N°4
30°
Ø8.1
[Ø0.32] N°2
8.1
[0.32] N°6
70
[2.76]
120
[4.72]
3
[0.12]
4.2
[0.17]
mm
[in]
mm
[in]

Table of Contents

Related product manuals