EasyManua.ls Logo

DCS Delius - Rear Panel Connectors

DCS Delius
80 pages
Print Icon
To Next Page IconTo Next Page
To Next Page IconTo Next Page
To Previous Page IconTo Previous Page
To Previous Page IconTo Previous Page
Loading...
dCS Delius User Manual Manual for Software Issue 2.3x
dCS Ltd September 2004
Manual filename: Delius Manual v2.3x.doc Page 39 email: more@dcsltd.co.uk
English version web-site: www.dcsltd.co.uk
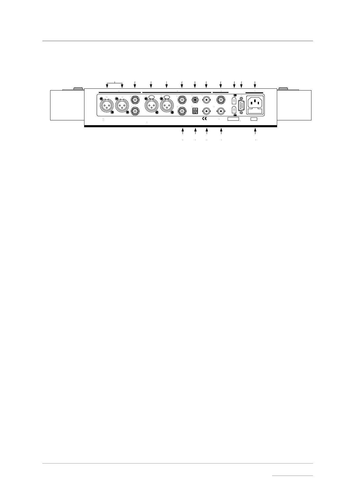
Rear Panel
Warning: Shock Hazard - Do not open. No user serviceable parts inside. Designed to comply with BS415, EN60065, IEC65.
Serial No.
Power Supply
50/60Hz, 30W
V
ANALOGUE OUTPUTS DIGITAL INPUTS POWER
IN - WORDCLOCK - OUT
BNC
RCA1
TOSLINK
AES1 AES2
Caution: To avoid risk of fire replace only with same fuse type and rating 2AT. Caution: This equipment MUST be earthed.
dCS DELIUS DAC Designed and Manufactured in England by dCS Ltd
PUS H
L R
L
R RCA2
ST
PUSH
DIGITAL OUT
REC
1
SUC
1394
J
K L M N P R
O Q S T
U V W X
Y
Figure 8 – dCS Delius Rear Panel
Key to Rear Panel
J Balanced Analogue Outputs L & R on XLR male
connectors
K Unbalanced Analogue Outputs L & R on RCA
phono connectors
L & M AES/EBU digital inputs AES 1 & AES 2 on XLR
female connector
N & O SPDIF digital inputs RCA1 & RCA2 on RCA phono
connectors
P Spare
Q SPDIF optical input on Toslink connector
R SPDIF digital input on BNC connector
S Wordclock digital Input
T Wordclock digital Output
U SPDIF digital output REC on RCA phono
connector
V Optional IEEE 1394 interface on two 6-way
connectors
W SUC - Software Upgrade Connector, 9-way male
‘D’ type connector
XIEC Power inlet
Y Mains fuse holder
(Upgrader’s note: Units manufactured before February 2001 were fitted with
Wordclock In, but this was labelled OPTION. This location was blanked off on
some early units.)
Balanced Analogue Outputs
If your pre or power amplifier has balanced inputs, connect Delius’ Balanced
Analogue Outputs to them. For best results, connection of these outputs to
unbalanced inputs is not recommended – use the Unbalanced Analogue
Outputs instead. Use good quality, screened, XLR audio cables.

Table of Contents

Related product manuals